首页
专利数据库
产业人才
行业动态
产业政策法规
维权援助
个人中心
登录/注册
详情
文本
图像
标题:
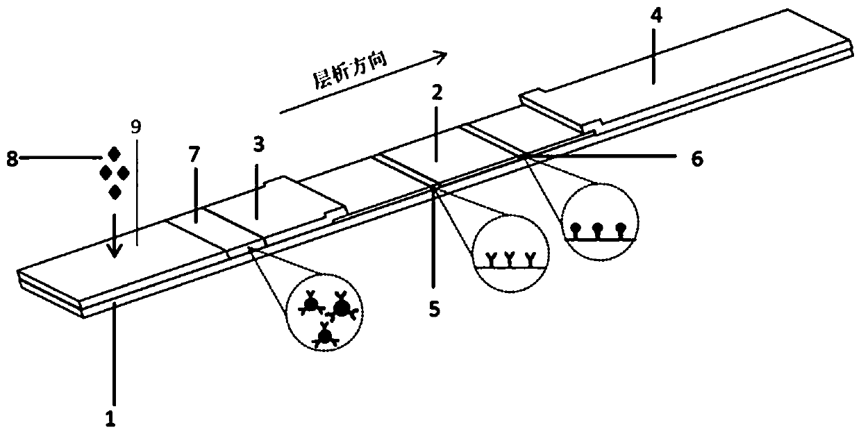
一种快速检测壳多糖酶3样蛋白1的免疫层析检测卡及其制备方法
授权日:
1900-01-01
公开(公告)号:
CN110488006A
申请日:
2019-09-26
公开(公告)日:
2019-11-22
当前申请(专利权)人:
天津华科泰生物技术有限公司
发明人:
林斯 | 石岗 | 胡文翔
简单同族:
CN110488006A
简单同族成员数量:
1
简单同族被引用专利总数:
0
诉讼案件数:
0
法律状态/事件:
实质审查