标题:
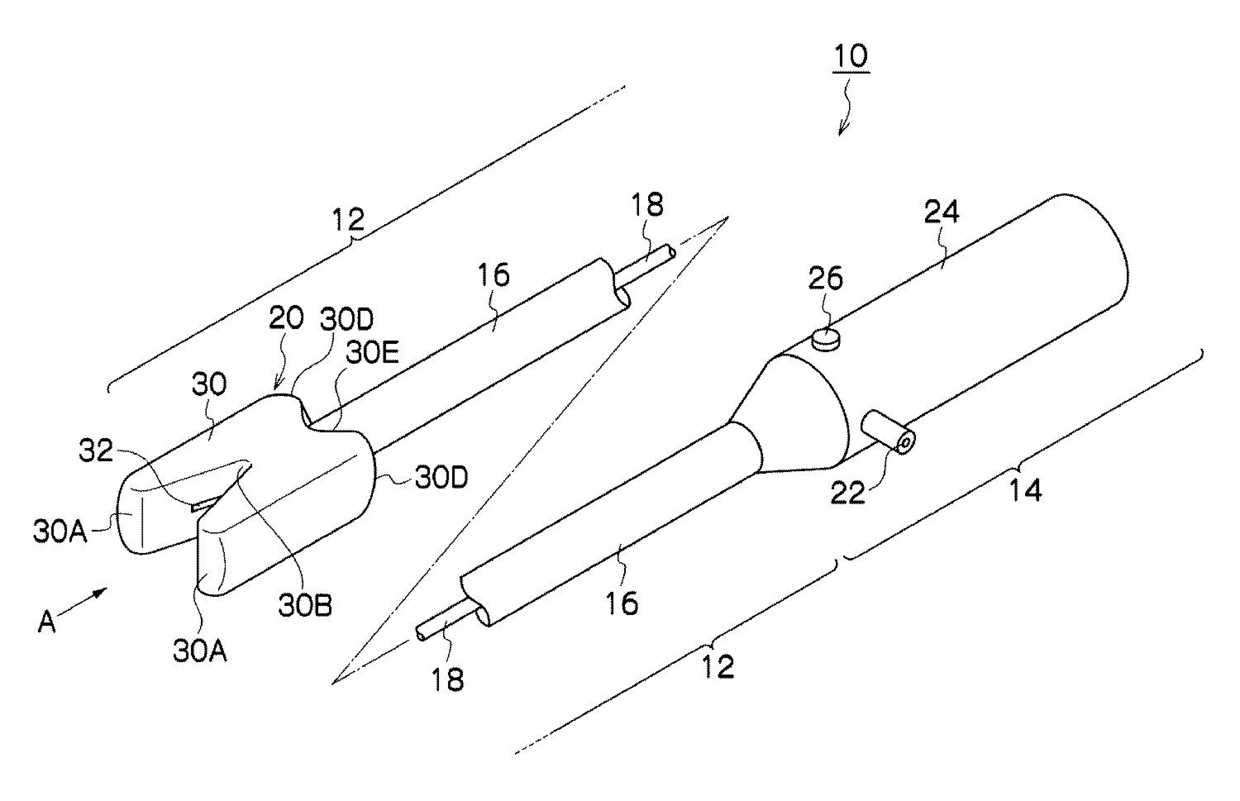
에는 2개의 전극판(32A, 32B)이 본체(30)의 곡부(30B)에 설치되어 있다. 도 9
授权日:
2013-06-19
公开(公告)号:
KR101278556B1
申请日:
2006-09-12
公开(公告)日:
2013-06-25
当前申请(专利权)人:
각코우호우진 지치 이카다이가쿠
发明人:
YAMAMOTO, HIRONORI
简单同族:
CN101272744A | CN101272744B | CN101803949A | CN101803949B | CN101810511A | CN101810511B | EP1943972A1 | EP1943972A4 | EP1943972B1 | EP2572666A1 | EP2572666B1 | EP2572667A1 | EP2572667B1 | JP4794564B2 | JPWO2007034708A1 | KR101278555B1 | KR101278556B1 | KR1020080060229A | KR1020130018373A | US20090247823A1 | US9220560 | WO2007034708A1
简单同族成员数量:
22
简单同族被引用专利总数:
31
诉讼案件数:
0
法律状态/事件:
授权