首页
专利数据库
产业人才
行业动态
产业政策法规
维权援助
个人中心
登录/注册
详情
文本
图像
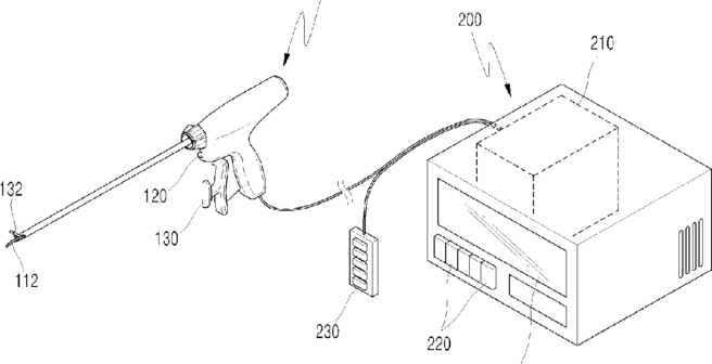
标题:
Power Supply Device for Surgical Instrument, Using Ultrasonic Waves
授权日:
1900-01-01
公开(公告)号:
US20160213394A1
申请日:
2013-06-18
公开(公告)日:
2016-07-28
当前申请(专利权)人:
KIM, EUNGKOOK
发明人:
KIM, EUNGKOOK
简单同族:
EP3011922A1 | EP3011922A4 | US20160213394A1 | WO2014204026A1
简单同族成员数量:
4
简单同族被引用专利总数:
0
诉讼案件数:
0
法律状态/事件:
撤回