首页
专利数据库
产业人才
行业动态
产业政策法规
维权援助
个人中心
登录/注册
详情
文本
图像
标题:
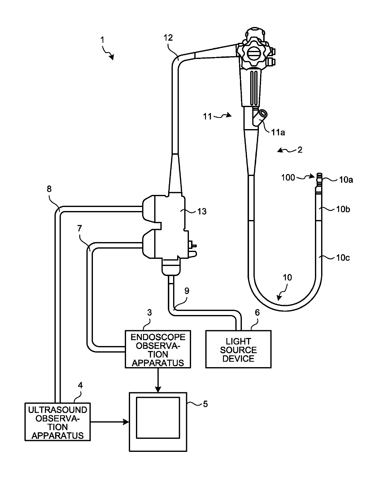
Ultrasound endoscope
授权日:
1900-01-01
公开(公告)号:
US20190125305A1
申请日:
2018-08-30
公开(公告)日:
2019-05-02
当前申请(专利权)人:
OLYMPUS CORPORATION
发明人:
TSURUTA, TEPPEI
简单同族:
CN108697407A | EP3424435A1 | EP3424435A4 | JP6203451B1 | JPWO2017149815A1 | US20190125305A1 | WO2017149815A1
简单同族成员数量:
7
简单同族被引用专利总数:
0
诉讼案件数:
0
法律状态/事件:
实质审查 | 权利转移