首页
专利数据库
产业人才
行业动态
产业政策法规
维权援助
个人中心
登录/注册
详情
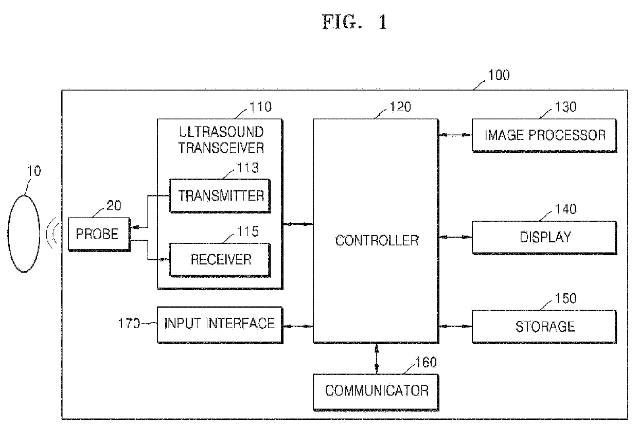
文本
图像
标题:
Ultrasound diagnosis apparatus and method of operating the same
授权日:
1900-01-01
公开(公告)号:
EP3469994A1
申请日:
2018-10-12
公开(公告)日:
2019-04-17
当前申请(专利权)人:
SAMSUNG MEDISON CO., LTD.
发明人:
LEE, SANG-MOK | HYEON, YONG-CHEOL
简单同族:
EP3469994A1 | US20190110777A1
简单同族成员数量:
2
简单同族被引用专利总数:
0
诉讼案件数:
0
法律状态/事件:
公开