首页
专利数据库
产业人才
行业动态
产业政策法规
维权援助
个人中心
登录/注册
详情
文本
图像
标题:
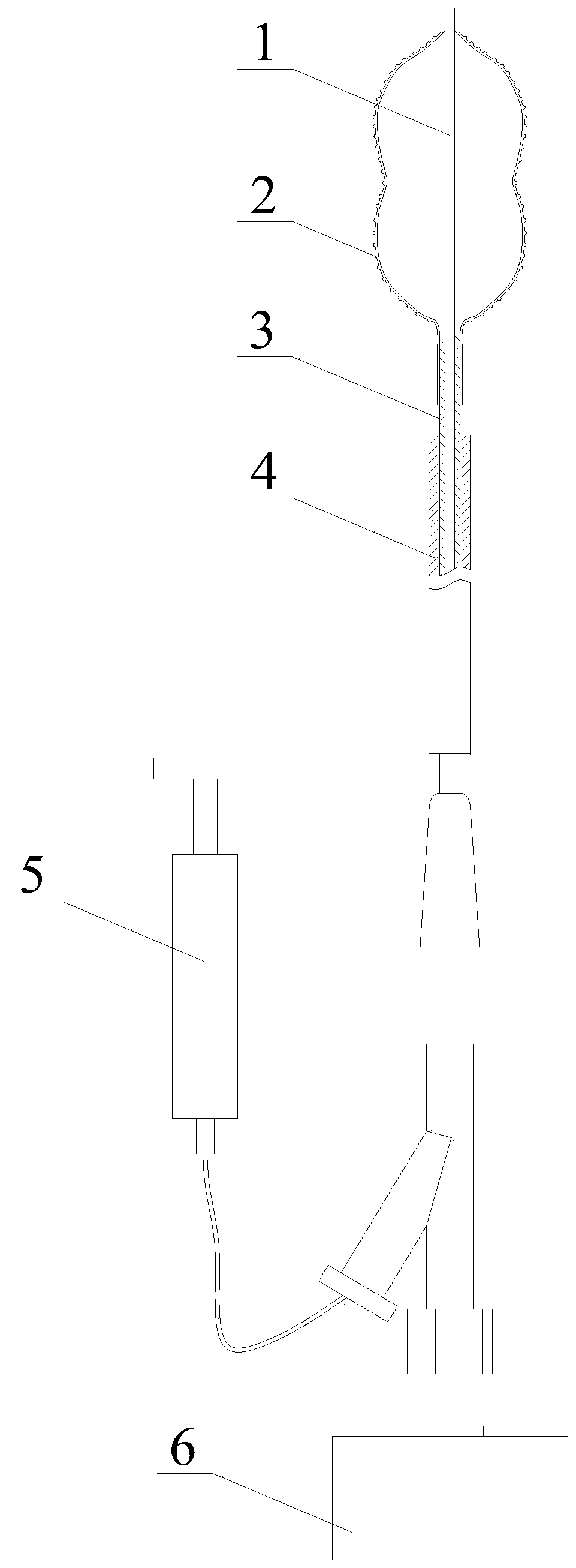
一种带棘突的骨科球囊及骨科球囊设备
授权日:
1900-01-01
公开(公告)号:
CN110115610A
申请日:
2019-05-27
公开(公告)日:
2019-08-13
当前申请(专利权)人:
张嘉 | 宋瓘兰 | 程宇镳
发明人:
张嘉 | 宋瓘兰 | 程宇镳
简单同族:
CN110115610A | CN210383978U
简单同族成员数量:
2
简单同族被引用专利总数:
0
诉讼案件数:
0
法律状态/事件:
实质审查