首页
专利数据库
产业人才
行业动态
产业政策法规
维权援助
个人中心
登录/注册
详情
文本
图像
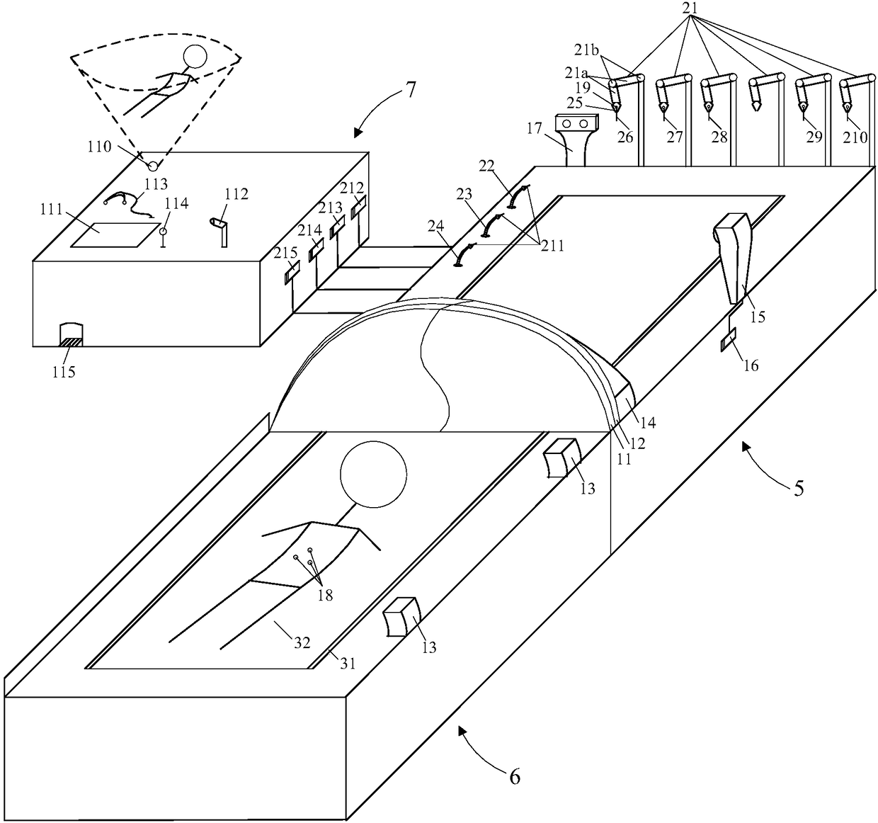
标题:
一种用于肝胆外科的手术系统
授权日:
1900-01-01
公开(公告)号:
CN107320180A
申请日:
2017-07-24
公开(公告)日:
2017-11-07
当前申请(专利权)人:
重庆市肿瘤研究所
发明人:
叶敏 | 曾建挺 | 王瑜 | 罗鲜樟 | 王春梅
简单同族:
CN107320180A | CN107320180B
简单同族成员数量:
2
简单同族被引用专利总数:
1
诉讼案件数:
0
法律状态/事件:
授权