首页
专利数据库
产业人才
行业动态
产业政策法规
维权援助
个人中心
登录/注册
详情
文本
图像
标题:
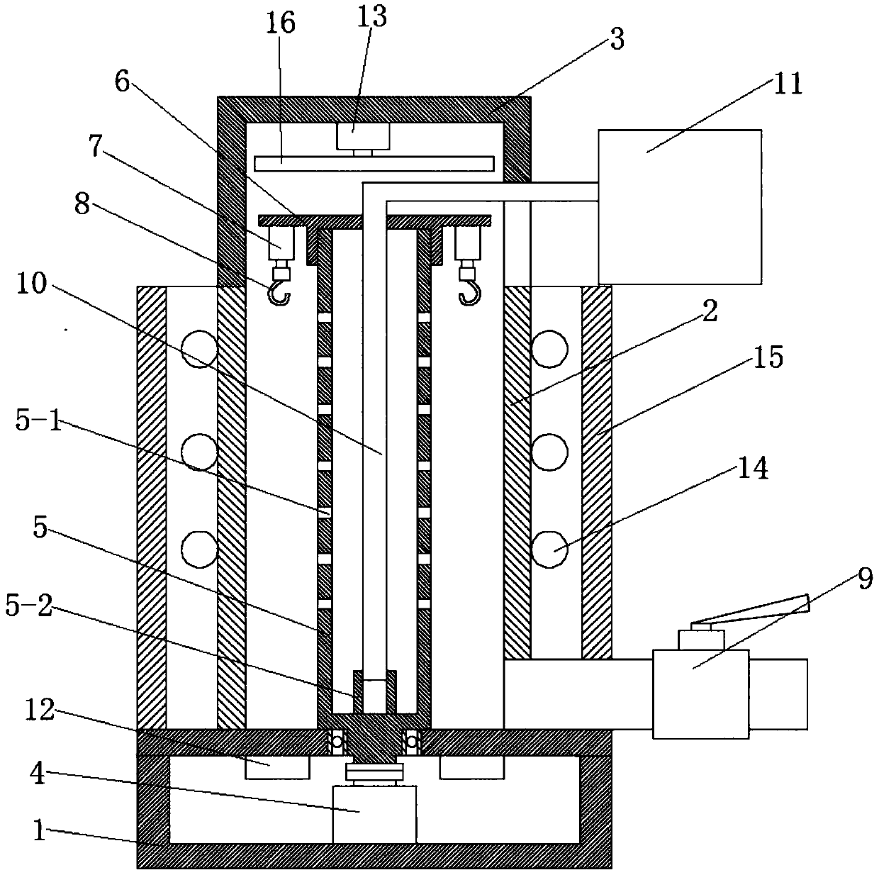
一种全方位清洗的检测器具清洗消毒装置
授权日:
2020-04-21
公开(公告)号:
CN210354941U
申请日:
2019-06-03
公开(公告)日:
2020-04-21
当前申请(专利权)人:
江苏艾科姆检测有限公司
发明人:
刘浩 | 赵鹏
简单同族:
CN210354941U
简单同族成员数量:
1
简单同族被引用专利总数:
0
诉讼案件数:
0
法律状态/事件:
授权