首页
专利数据库
产业人才
行业动态
产业政策法规
维权援助
个人中心
登录/注册
详情
文本
图像
标题:
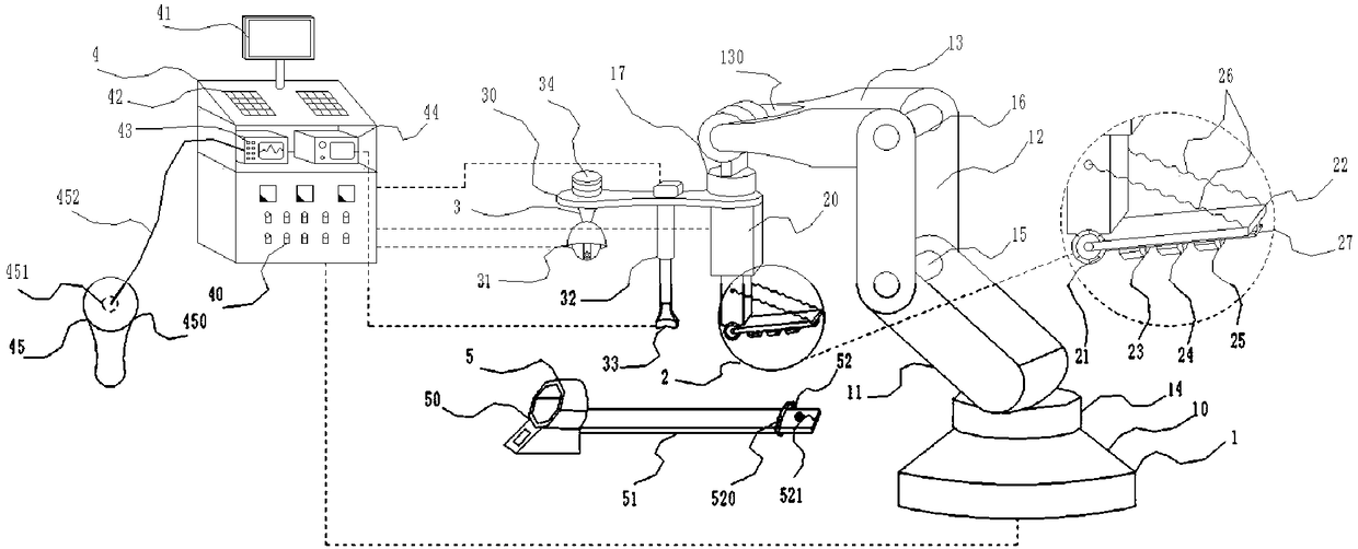
用于白血病患者化疗的PICC静脉置管智能控制操作仪
授权日:
1900-01-01
公开(公告)号:
CN107297016A
申请日:
2017-08-01
公开(公告)日:
2017-10-27
当前申请(专利权)人:
张建英
发明人:
张建英 | 张颖慧 | 李双双 | 赵金玲
简单同族:
CN107297016A | CN107297016B
简单同族成员数量:
2
简单同族被引用专利总数:
2
诉讼案件数:
0
法律状态/事件:
授权