首页
专利数据库
产业人才
行业动态
产业政策法规
维权援助
个人中心
登录/注册
详情
文本
图像
标题:
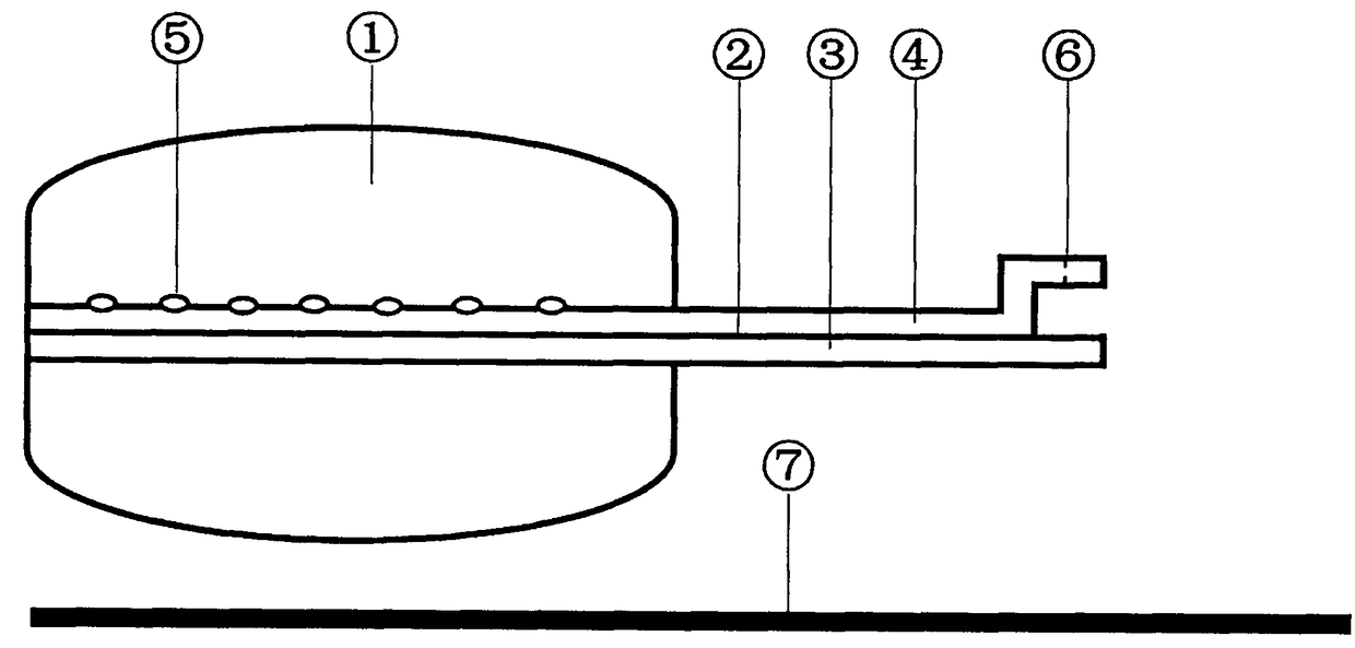
乳房肿块微创旋切术后内压迫止血法及止血球囊
授权日:
2017-10-03
公开(公告)号:
CN104688290B
申请日:
2013-12-07
公开(公告)日:
2017-10-03
当前申请(专利权)人:
复旦大学附属妇产科医院
发明人:
宋晖
简单同族:
CN104688290A | CN104688290B
简单同族成员数量:
2
简单同族被引用专利总数:
0
诉讼案件数:
0
法律状态/事件:
授权