首页
专利数据库
产业人才
行业动态
产业政策法规
维权援助
个人中心
登录/注册
详情
文本
图像
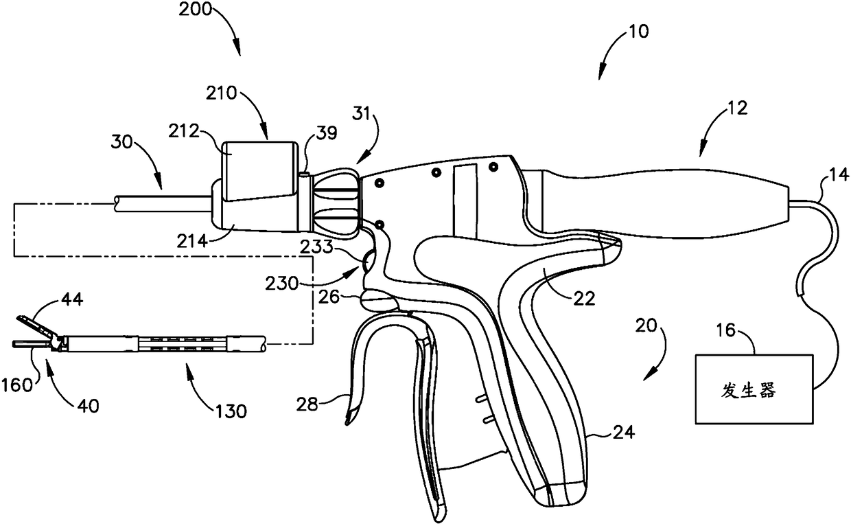
标题:
在轴旋转旋钮中具有机动化关节运动驱动器的超声外科器械
授权日:
1900-01-01
公开(公告)号:
CN109069173A
申请日:
2017-04-04
公开(公告)日:
2018-12-21
当前申请(专利权)人:
伊西康有限责任公司
发明人:
R·W·蒂姆
简单同族:
BR112018070282A2 | CN109069173A | EP3439562A1 | EP3439562B1 | EP3673842A1 | JP2019515768A | US10507034 | US20170281218A1 | US20200121353A1 | WO2017176752A1
简单同族成员数量:
10
简单同族被引用专利总数:
0
诉讼案件数:
0
法律状态/事件:
实质审查