首页
专利数据库
产业人才
行业动态
产业政策法规
维权援助
个人中心
登录/注册
详情
文本
图像
标题:
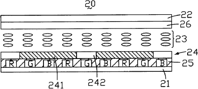
液晶显示面板及液晶显示装置
授权日:
2007-03-21
公开(公告)号:
CN2881692Y
申请日:
2005-07-15
公开(公告)日:
2007-03-21
当前申请(专利权)人:
群康科技(深圳)有限公司 | 群创光电股份有限公司
发明人:
李元 | 任聿弘 | 邰明波
简单同族:
CN2881692Y
简单同族成员数量:
1
简单同族被引用专利总数:
0
诉讼案件数:
0
法律状态/事件:
期限届满