首页
专利数据库
产业人才
行业动态
产业政策法规
维权援助
个人中心
登录/注册
详情
文本
图像
标题:
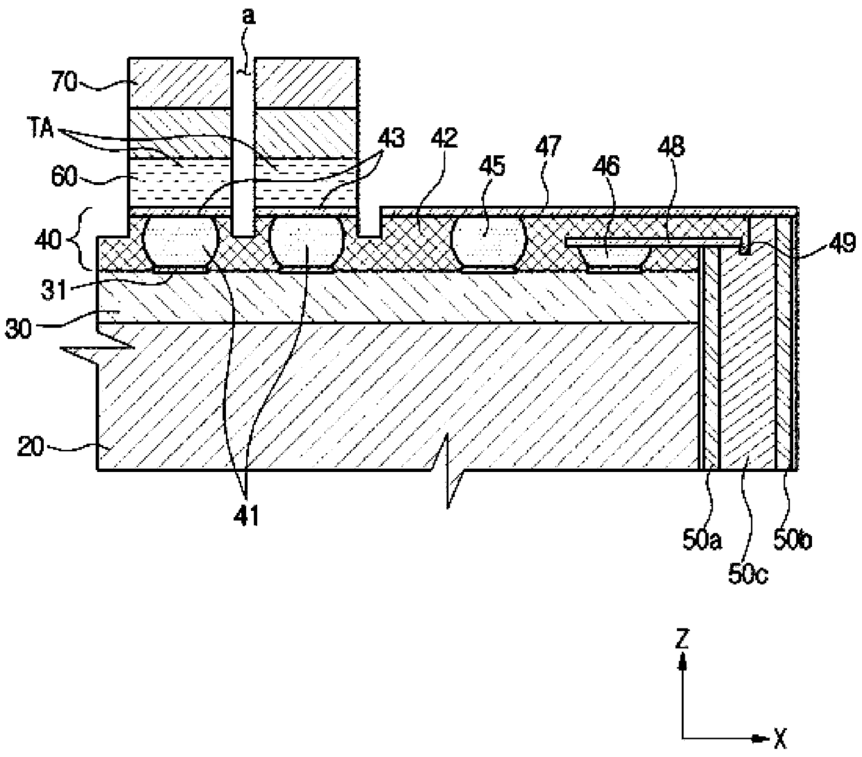
超声探头和制造超声探头的方法
授权日:
1900-01-01
公开(公告)号:
CN105640590A
申请日:
2015-12-02
公开(公告)日:
2016-06-08
当前申请(专利权)人:
三星麦迪森株式会社
发明人:
具真浩 | 金载盆 | 李钟牧 | 赵永文
简单同族:
CN105640590A | KR1020160066483A
简单同族成员数量:
2
简单同族被引用专利总数:
0
诉讼案件数:
0
法律状态/事件:
实质审查