首页
专利数据库
产业人才
行业动态
产业政策法规
维权援助
个人中心
登录/注册
详情
文本
图像
标题:
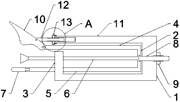
超声刀刀头调节机构
授权日:
2018-05-04
公开(公告)号:
CN207306708U
申请日:
2017-03-08
公开(公告)日:
2018-05-04
当前申请(专利权)人:
浙江索尼克医疗科技发展有限公司
发明人:
王维兴
简单同族:
CN207306708U
简单同族成员数量:
1
简单同族被引用专利总数:
0
诉讼案件数:
0
法律状态/事件:
未缴年费