首页
专利数据库
产业人才
行业动态
产业政策法规
维权援助
个人中心
登录/注册
详情
文本
图像
标题:
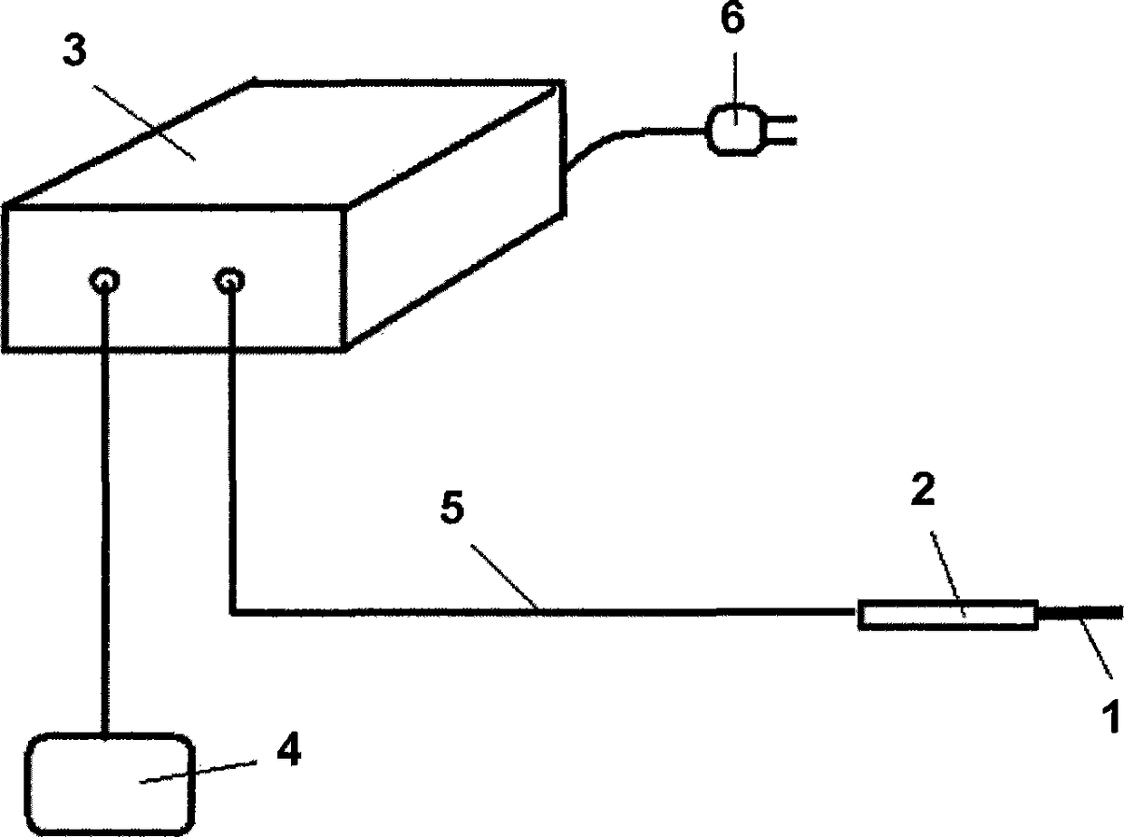
一种开放式外科手术用超声刀装置
授权日:
2013-11-27
公开(公告)号:
CN203303115U
申请日:
2013-05-30
公开(公告)日:
2013-11-27
当前申请(专利权)人:
厚凯(北京)医疗科技有限公司
发明人:
史文勇
简单同族:
CN203303115U
简单同族成员数量:
1
简单同族被引用专利总数:
2
诉讼案件数:
0
法律状态/事件:
授权