首页
专利数据库
产业人才
行业动态
产业政策法规
维权援助
个人中心
登录/注册
详情
文本
图像
标题:
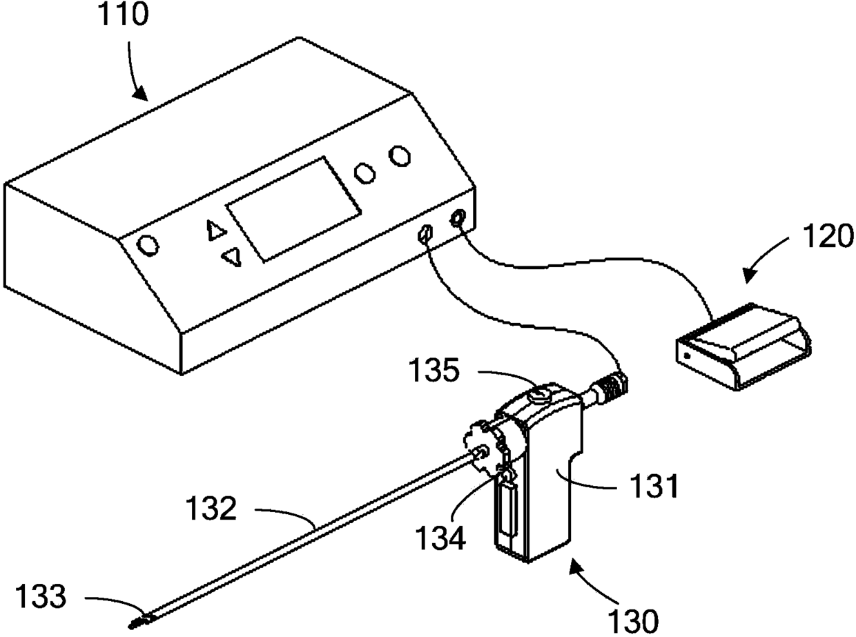
超声切割止血刀、超声切割止血系统
授权日:
2014-07-16
公开(公告)号:
CN203710057U
申请日:
2013-12-26
公开(公告)日:
2014-07-16
当前申请(专利权)人:
深圳迈瑞生物医疗电子股份有限公司
发明人:
陈绪贵 | 张学武
简单同族:
CN203710057U
简单同族成员数量:
1
简单同族被引用专利总数:
4
诉讼案件数:
0
法律状态/事件:
授权