标题:
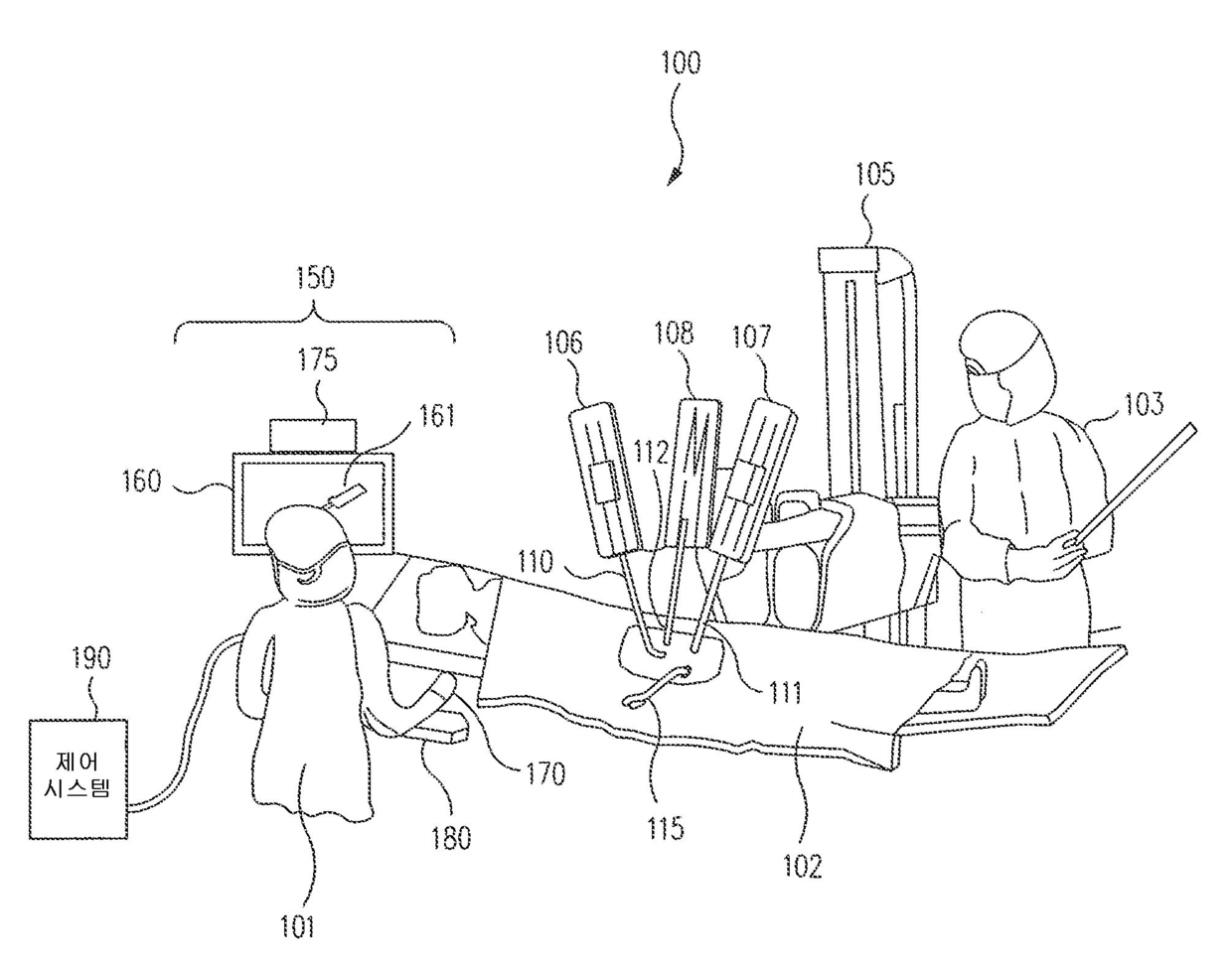
발명의 명칭 최소 침습 원격조종 수술 기구를 위한 환자측 의사 인터페이스
授权日:
1900-01-01
公开(公告)号:
KR1020120115484A
申请日:
2010-11-11
公开(公告)日:
2012-10-18
当前申请(专利权)人:
인튜어티브 서지컬 오퍼레이션즈 인코포레이티드
发明人:
잇코위츠브랜던디.
简单同族:
BR112012011324A2 | BR112012011324B1 | CN102665589A | CN102665589B | EP2467082A2 | EP2467082B1 | EP3092968A2 | EP3092968A3 | EP3092968B1 | EP3574860A1 | JP2013510671A | JP2015128681A | JP2017119168A | JP5757955B2 | JP6158246B2 | JP6373440B2 | KR101772958B1 | KR101825712B1 | KR1020120115484A | KR1020170100677A | US20110118748A1 | US20140018960A1 | US8521331 | US8831782 | WO2011060139A2 | WO2011060139A3
简单同族成员数量:
26
简单同族被引用专利总数:
392
诉讼案件数:
0
法律状态/事件:
授权