标题:
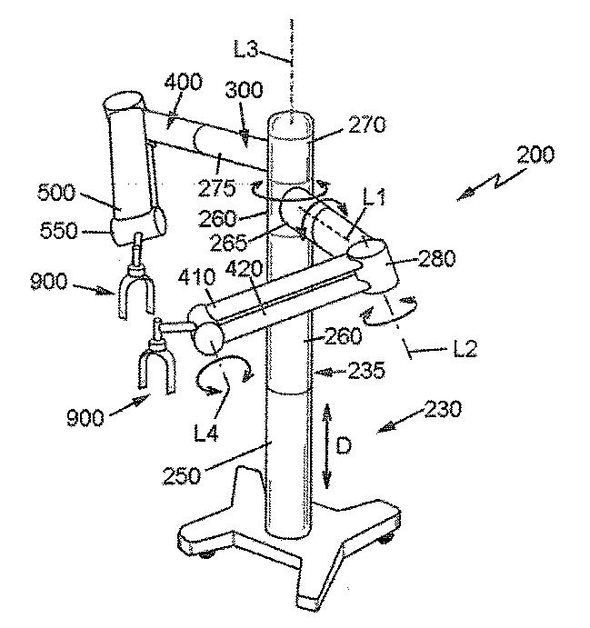
발명의 명칭 복강경 수술을 위한 로보틱 시스템
授权日:
1900-01-01
公开(公告)号:
KR1020120068768A
申请日:
2010-05-20
公开(公告)日:
2012-06-27
当前申请(专利权)人:
유니베르시타트 폴리테크니카 데 카탈루냐
发明人:
아마트지르바우,호셉 | 카살스겔피,알리시아 | 프리고라블롱,마넬
简单同族:
AU2010251107A1 | AU2010251107B2 | BRPI1011053A2 | CA2762780A1 | CA2762780C | CN102458295A | CN102458295B | EP2433585A1 | EP2433585A4 | EP2433585B1 | ES2388029A1 | ES2388029B1 | ES2655029T3 | HK1168018A | HK1168018A1 | IL216470D0 | JP2012527276A | JP2012527276A5 | JP5785538B2 | KR101665744B1 | KR1020120068768A | MX2011012295A | MX336487B | PL2433585T3 | RU2011152395A | RU2531469C2 | SG176183A1 | US20120136372A1 | US9119653 | WO2010133733A1 | ZA201109443B
简单同族成员数量:
31
简单同族被引用专利总数:
46
诉讼案件数:
0
法律状态/事件:
授权