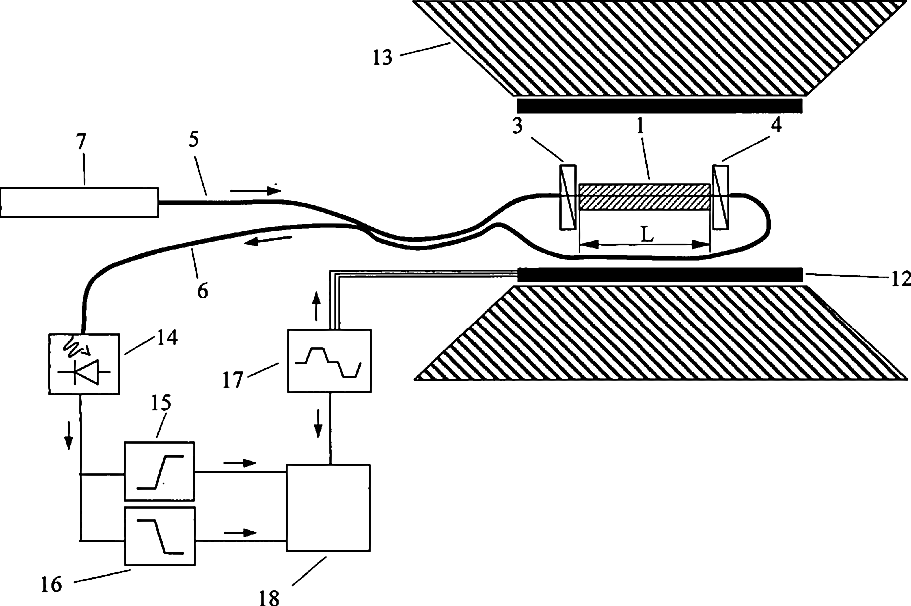
标题:
Method and apparatus for detecting the position and the orientation of an interventional device
授权日:
1900-01-01
公开(公告)号:
US20040199067A1
申请日:
2004-01-12
公开(公告)日:
2004-10-07
当前申请(专利权)人:
DEUTSCHES KREBSFORSCHUNGSZENTRUM STIFTUNG DES OFFENTLICHEN RECHTS
发明人:
BOCK, MICHAEL | UMATHUM, REINER | ZABEL, HANS-JOACHIM
简单同族:
AT365334T | DE60314493D1 | DE60314493T2 | EP1437601A1 | EP1437601B1 | US20040199067A1 | US7239400
简单同族成员数量:
7
简单同族被引用专利总数:
35
诉讼案件数:
0
法律状态/事件:
未缴年费 | 权利转移