首页
专利数据库
产业人才
行业动态
产业政策法规
维权援助
个人中心
登录/注册
详情
文本
图像
标题:
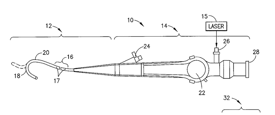
Scanning Ureteroscope For Maximizing Efficiency In Laser Lithotripsy
授权日:
1900-01-01
公开(公告)号:
US20180168669A1
申请日:
2017-11-02
公开(公告)日:
2018-06-21
当前申请(专利权)人:
GYRUS ACMI, INC. D.B.A. OLYMPUS SURGICAL TECHNOLOGIES AMERICA
发明人:
FAN, TAILIN
简单同族:
US20180168669A1
简单同族成员数量:
1
简单同族被引用专利总数:
0
诉讼案件数:
0
法律状态/事件:
实质审查 | 权利转移