标题:
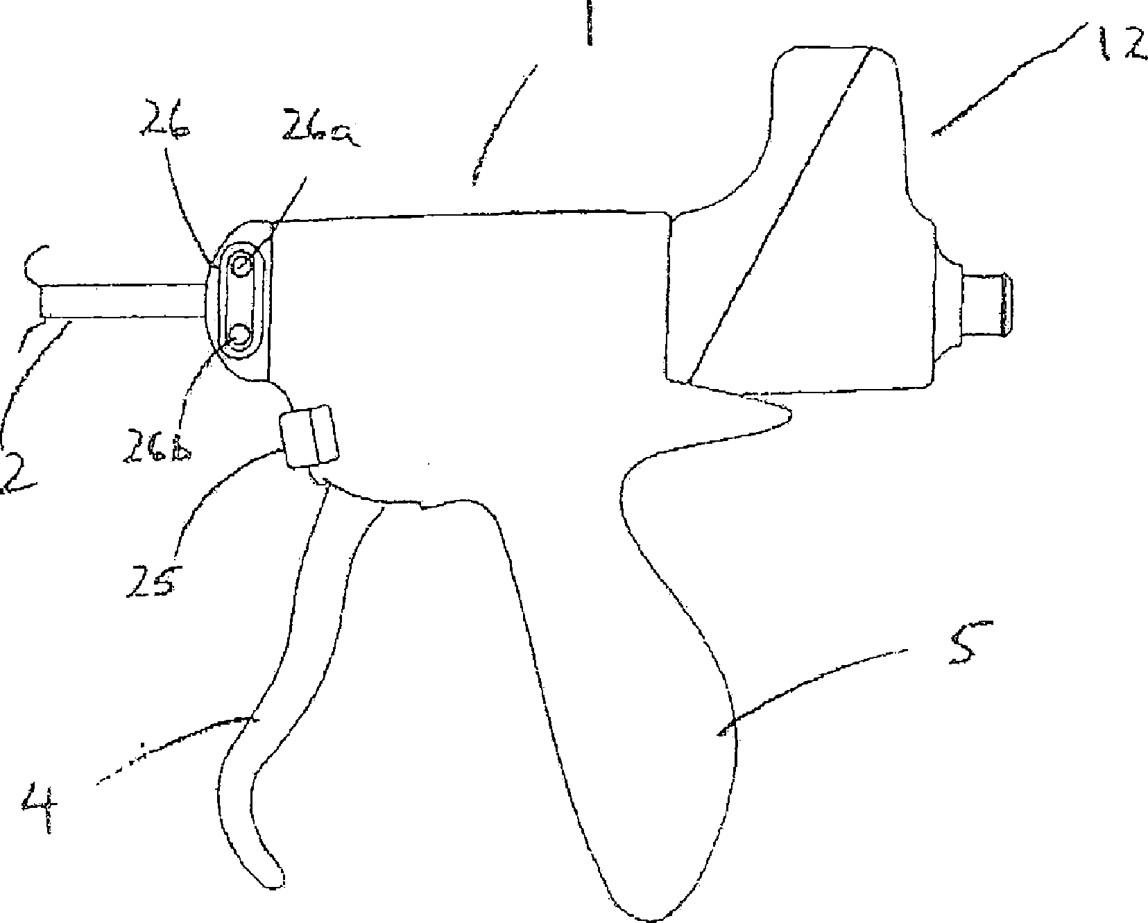
Ergonomic handpiece for laparoscopic and open surgery
授权日:
1900-01-01
公开(公告)号:
US20120101495A1
申请日:
2011-10-24
公开(公告)日:
2012-04-26
当前申请(专利权)人:
SRA DEVELOPMENTS LIMITED
发明人:
YOUNG, MICHAEL JOHN RADLEY | LEAVER, CHRISTOPHER JOHN | WRIGHT, NICHOLAS CHARLES | MANLEY, PETER JAMES
简单同族:
AU2011317397A1 | AU2016203294A1 | CN103269649A | CN103269649B | EP2629685A1 | EP2629685B1 | GB201017968D0 | GB201019794D0 | GB201020672D0 | GB201102034D0 | US20120101495A1 | US20160242753A1 | US9655601 | WO2012052729A1
简单同族成员数量:
14
简单同族被引用专利总数:
133
诉讼案件数:
0
法律状态/事件:
撤回 | 权利转移