标题:
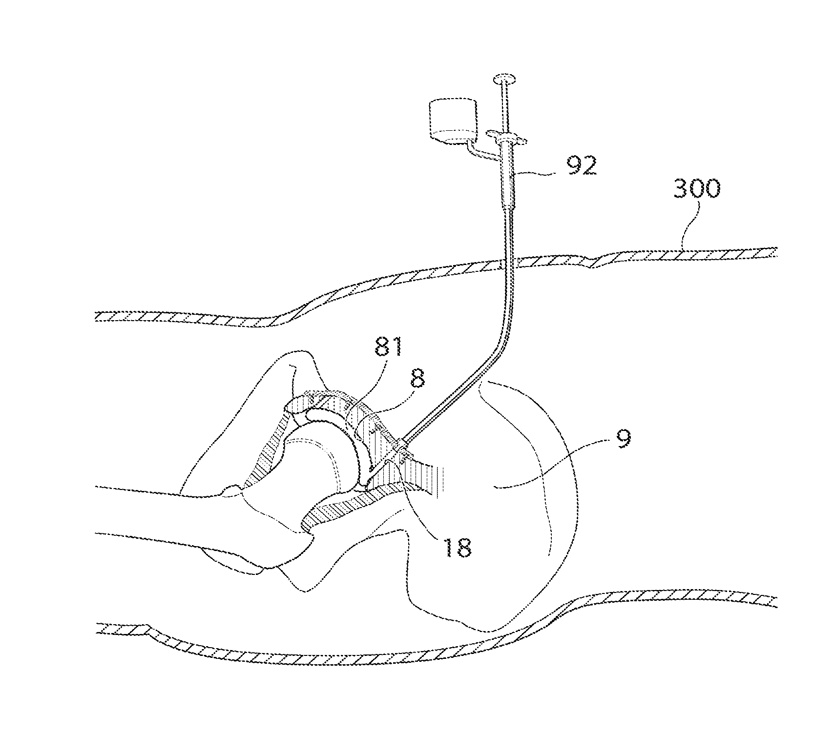
Joint Device and Method
授权日:
1900-01-01
公开(公告)号:
US20160302931A1
申请日:
2016-06-27
公开(公告)日:
2016-10-20
当前申请(专利权)人:
FORSELL, PETER
发明人:
FORSELL, PETER
简单同族:
AU2010269171A1 | AU2010269171B2 | CA2805030A1 | CA2805030C | EP2451384A1 | EP2451384A4 | EP2451384B1 | EP2451385A1 | EP2451385A4 | EP2451385B1 | EP2451386A1 | EP2451386A4 | EP2451386B1 | JP2013500747A | JP2013500747A5 | JP2016064194A | JP2016064194A5 | JP5859959B2 | JP6321616B2 | MX2012000524A | MX338399B | US10098744 | US20120116310A1 | US20120123337A1 | US20120209382A1 | US20160030181A1 | US20160166387A1 | US20160302931A1 | US9155623 | US9180011 | US9675460 | WO2011005206A1 | WO2011005207A1 | WO2011005211A1
简单同族成员数量:
34
简单同族被引用专利总数:
33
诉讼案件数:
0
法律状态/事件:
授权