首页
专利数据库
产业人才
行业动态
产业政策法规
维权援助
个人中心
登录/注册
详情
文本
图像
标题:
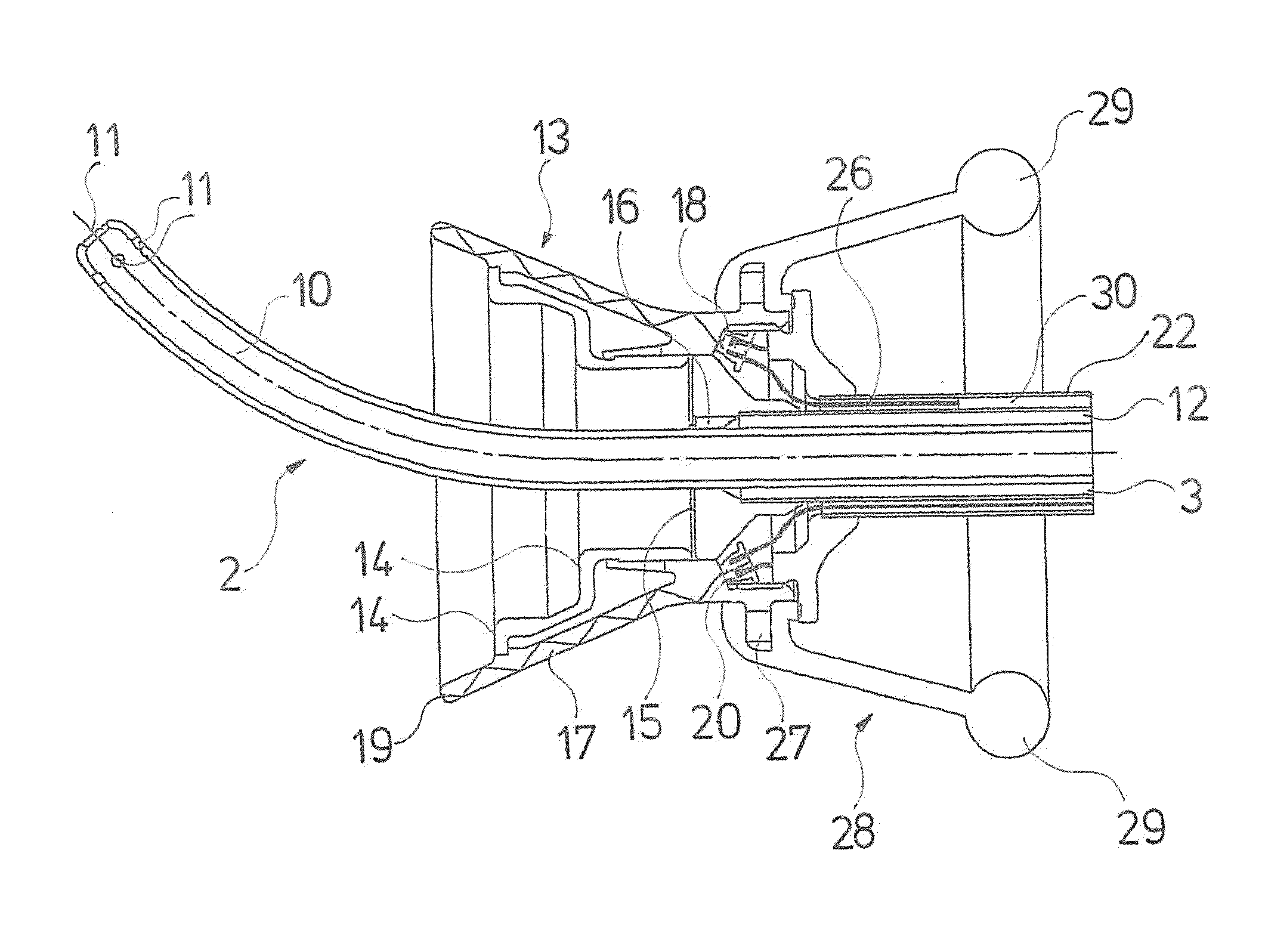
Uterus manipulator
授权日:
1900-01-01
公开(公告)号:
US20110130769A1
申请日:
2010-12-02
公开(公告)日:
2011-06-02
当前申请(专利权)人:
RICHARD WOLF GMBH
发明人:
BOEBEL, MANFRED | WEBER, BERND CLAUS | SOLIMA, EUGENIO
简单同族:
DE102009056705A1 | EP2329776A1 | EP2329776B1 | PL2329776T3 | US20110130769A1 | US8568423
简单同族成员数量:
6
简单同族被引用专利总数:
44
诉讼案件数:
0
法律状态/事件:
授权 | 权利转移