首页
专利数据库
产业人才
行业动态
产业政策法规
维权援助
个人中心
登录/注册
详情
文本
图像
标题:
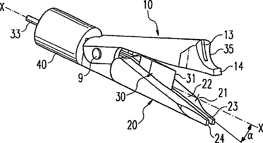
Surgical instrument
授权日:
1900-01-01
公开(公告)号:
US20090043305A1
申请日:
2005-07-12
公开(公告)日:
2009-02-12
当前申请(专利权)人:
ERBE ELEKTROMEDIZIN GMBH
发明人:
BRODBECK, ACHIM | HAFNER, DIETER
简单同族:
CN100493469C | CN101005810A | DE102004040959A1 | DE102004040959B4 | EP1784137A1 | EP1784137B1 | JP2008510536A | US20090043305A1 | US8992526 | WO2006021269A1
简单同族成员数量:
10
简单同族被引用专利总数:
387
诉讼案件数:
0
法律状态/事件:
授权 | 权利转移