首页
专利数据库
产业人才
行业动态
产业政策法规
维权援助
个人中心
登录/注册
详情
文本
图像
标题:
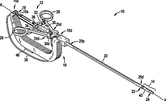
Laparoscopic device with distal handle
授权日:
2014-09-09
公开(公告)号:
US8828046
申请日:
2010-10-14
公开(公告)日:
2014-09-09
当前申请(专利权)人:
ETHICON ENDO-SURGERY, INC.
发明人:
STEFANCHIK, DAVID | VAKHARIA, OMAR J. | STOKES, MICHAEL J.
简单同族:
US20120095298A1 | US8828046 | WO2012051299A1
简单同族成员数量:
3
简单同族被引用专利总数:
42
诉讼案件数:
0
法律状态/事件:
授权 | 权利转移