标题:
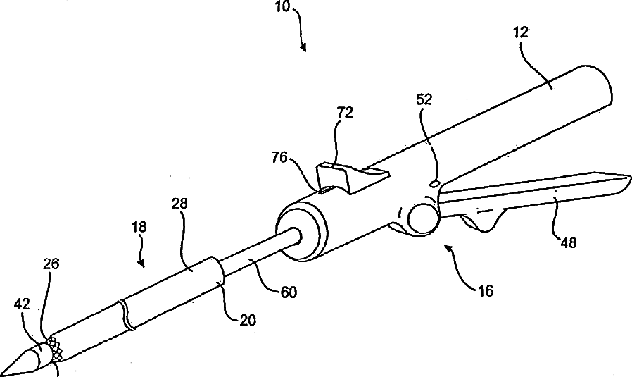
Methods and Devices for Placing a Conduit in Fluid Communication with a Target Vessel
授权日:
1900-01-01
公开(公告)号:
US20090005852A1
申请日:
2008-07-25
公开(公告)日:
2009-01-01
当前申请(专利权)人:
GITTINGS DARIN C | RAPACKI ALAN R | SHARKAWY ADAM | BUCH WALLY S
发明人:
GITTINGS, DARIN C. | RAPACKI, ALAN R. | SHARKAWY, ADAM | BUCH, WALLY S.
简单同族:
US20040097988A1 | US20090005852A1 | US7578828
简单同族成员数量:
3
简单同族被引用专利总数:
120
诉讼案件数:
0
法律状态/事件:
撤回