首页
专利数据库
产业人才
行业动态
产业政策法规
维权援助
个人中心
登录/注册
详情
文本
图像
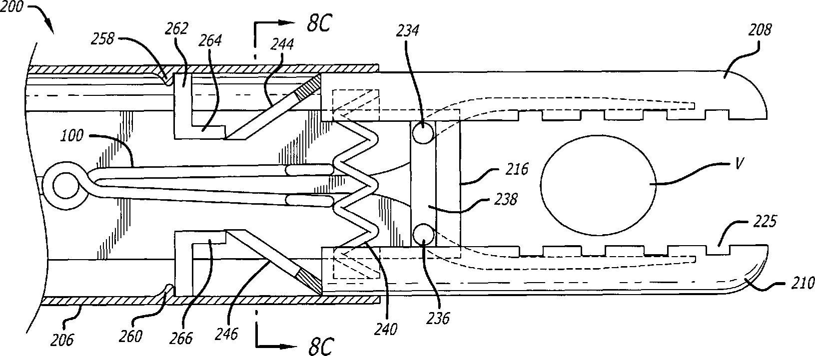
标题:
Ligation clip applier
授权日:
2012-05-08
公开(公告)号:
US8172870
申请日:
2004-06-09
公开(公告)日:
2012-05-08
当前申请(专利权)人:
MICROLINE SURGICAL, INC.
发明人:
SHIPP, JOHN I.
简单同族:
US20050119677A1 | US8172870
简单同族成员数量:
2
简单同族被引用专利总数:
302
诉讼案件数:
0
法律状态/事件:
授权 | 权利转移