首页
专利数据库
产业人才
行业动态
产业政策法规
维权援助
个人中心
登录/注册
详情
文本
图像
标题:
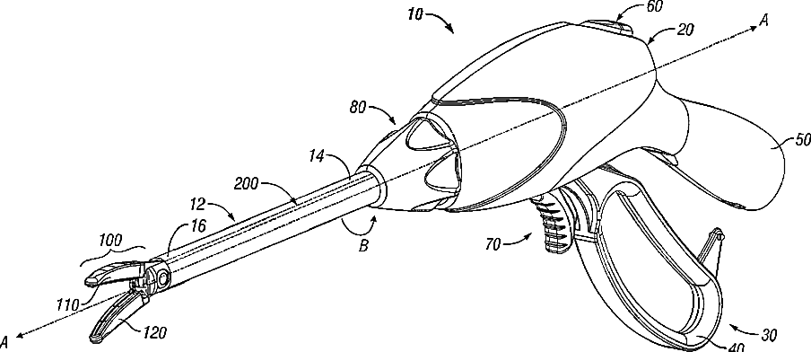
Method and System for Sterilizing an Electrosurgical Instrument
授权日:
1900-01-01
公开(公告)号:
US20090209957A1
申请日:
2009-02-09
公开(公告)日:
2009-08-20
当前申请(专利权)人:
COVIDIEN LP
发明人:
SCHMALTZ, DALE F. | APPEL, VICTOR K. | GUERRA, PAUL
简单同族:
EP2090257A1 | EP2090257B1 | ES2389753T3 | US20090209957A1 | US20140121661A1 | US8623276 | US9259266
简单同族成员数量:
7
简单同族被引用专利总数:
77
诉讼案件数:
0
法律状态/事件:
授权 | 权利转移