首页
专利数据库
产业人才
行业动态
产业政策法规
维权援助
个人中心
登录/注册
详情
文本
图像
标题:
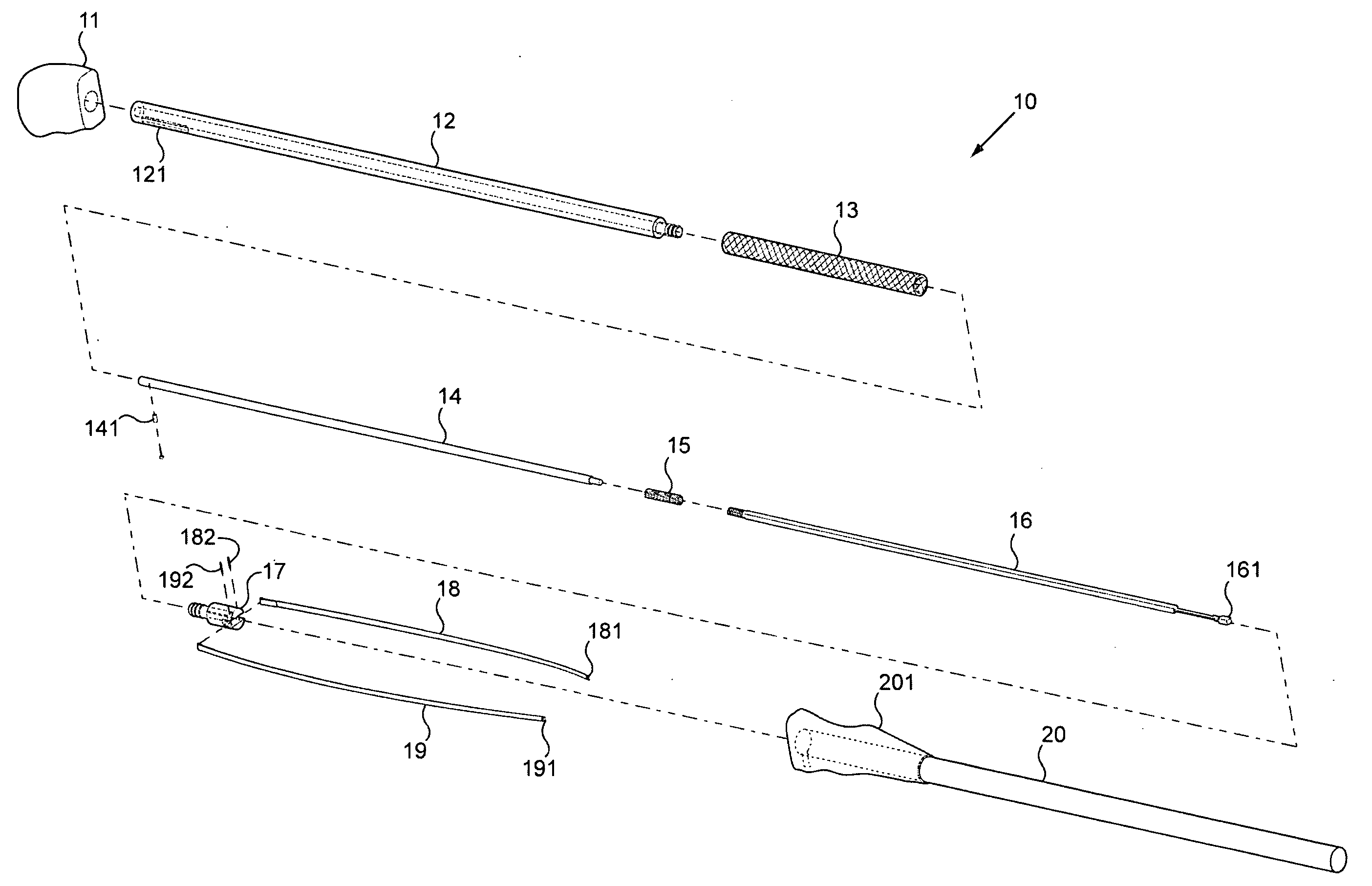
Apparatus, method and system for the deployment of surgical mesh
授权日:
1900-01-01
公开(公告)号:
US20110082479A1
申请日:
2009-10-07
公开(公告)日:
2011-04-07
当前申请(专利权)人:
FRIEDLANDER JACK
发明人:
FRIEDLANDER, JACK
简单同族:
US20110082479A1 | WO2011043795A1
简单同族成员数量:
2
简单同族被引用专利总数:
35
诉讼案件数:
0
法律状态/事件:
撤回