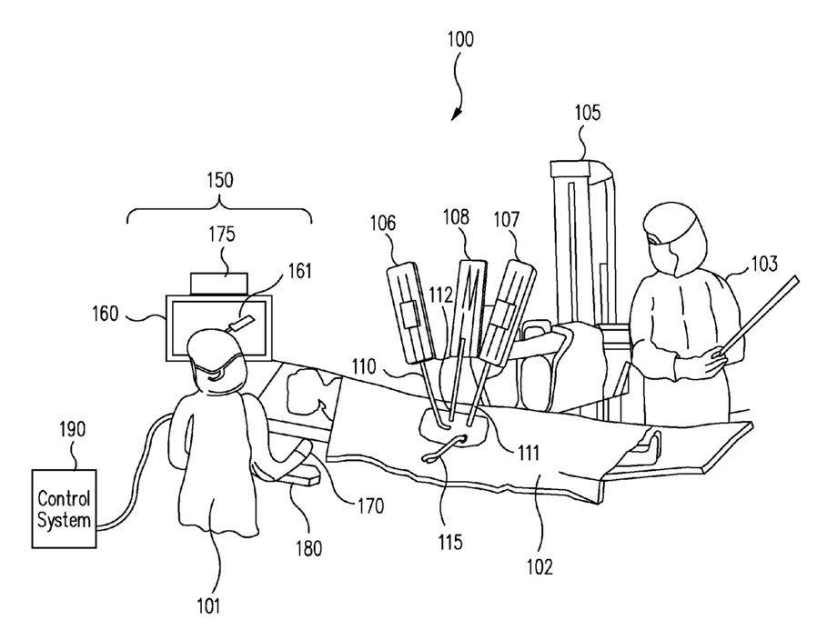
标题:
Patient-side surgeon interface for a minimally invasive, teleoperated surgical instrument
授权日:
1900-01-01
公开(公告)号:
US20110118748A1
申请日:
2009-11-13
公开(公告)日:
2011-05-19
当前申请(专利权)人:
INTUITIVE SURGICAL OPERATIONS, INC.
发明人:
ITKOWITZ, BRANDON
简单同族:
BR112012011324A2 | BR112012011324B1 | CN102665589A | CN102665589B | EP2467082A2 | EP2467082B1 | EP3092968A2 | EP3092968A3 | EP3092968B1 | EP3574860A1 | JP2013510671A | JP2015128681A | JP2017119168A | JP5757955B2 | JP6158246B2 | JP6373440B2 | KR101772958B1 | KR101825712B1 | KR1020120115484A | KR1020170100677A | US20110118748A1 | US20140018960A1 | US8521331 | US8831782 | WO2011060139A2 | WO2011060139A3
简单同族成员数量:
26
简单同族被引用专利总数:
391
诉讼案件数:
0
法律状态/事件:
授权 | 权利转移