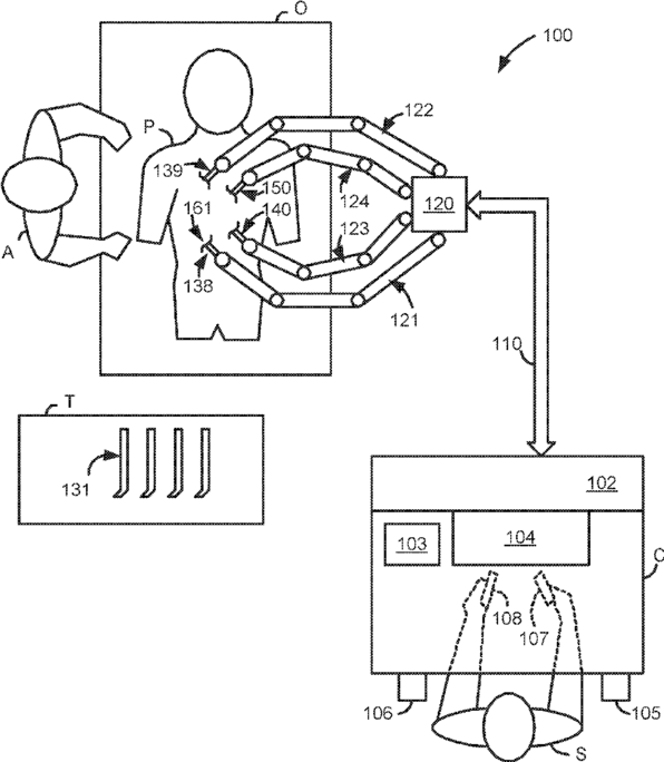
标题:
Laparoscopic Ultrasound Robotic Surgical System
授权日:
1900-01-01
公开(公告)号:
US20170128144A1
申请日:
2017-01-23
公开(公告)日:
2017-05-11
当前申请(专利权)人:
INTUITIVE SURGICAL OPERATIONS, INC. | THE JOHNS HOPKINS UNIVERSITY
发明人:
HASSER, CHRISTOPHER J. | TAYLOR, RUSSELL H. | LEVEN, JOSHUA | CHOTI, MICHAEL
简单同族:
AT540634T | CN101193603A | CN101193603B | EP1887961A1 | EP1887961B1 | EP2289452A2 | EP2289452A3 | EP2289453A2 | EP2289453A3 | EP2289453B1 | EP2289454A2 | EP2289454A3 | EP2289454B1 | JP2008541990A | JP2012050887A | JP2012050888A | JP2012055717A | JP2013252452A | JP2013252452A5 | JP2014138901A | JP2016041377A | JP4999012B2 | JP5455173B2 | JP6138227B2 | KR101258912B1 | KR1020080027224A | US10603127 | US10646293 | US20070021738A1 | US20170128041A1 | US20170128144A1 | US20170128145A1 | US20200163732A1 | WO2007030173A1
简单同族成员数量:
34
简单同族被引用专利总数:
401
诉讼案件数:
0
法律状态/事件:
撤回 | 许可