标题:
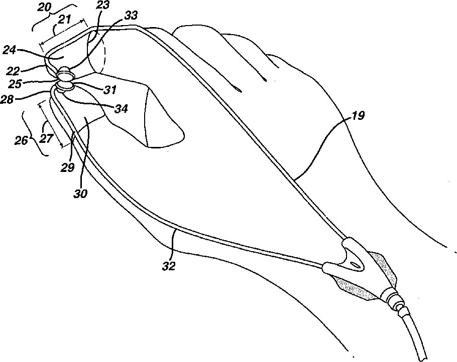
Finger tip electrosurgical medical device
授权日:
1900-01-01
公开(公告)号:
US20040260281A1
申请日:
2003-09-10
公开(公告)日:
2004-12-23
当前申请(专利权)人:
ETHICON ENDO-SURGERY, INC.
发明人:
BAXTER, CHESTER O. III | FALLER, CRAIG N. | HOUSER, KEVIN L. | GUTIERREZ, JORGE | DONOFRIO, WILLIAM T. | MORGAN, JEROME R. | VAITEKUNAS, JEFFREY J. | JOHNSON, GREGORY W. | VANDRAKE, VANCE III
简单同族:
AU2003270806A1 | AU2009200197A1 | AU2009200197B2 | CA2499563A1 | CN100417365C | CN1681447A | EP1551322A2 | EP1551322A4 | JP2006517422A | US20040260281A1 | US20070093807A1 | WO2004026108A2 | WO2004026108A3
简单同族成员数量:
13
简单同族被引用专利总数:
268
诉讼案件数:
0
法律状态/事件:
撤回 | 权利转移