标题:
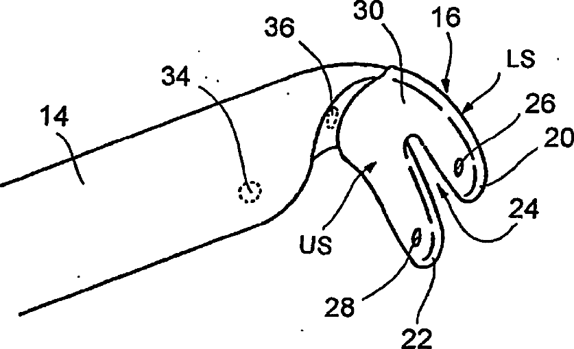
Electrosurgical devices and methods for selective cutting of tissue
授权日:
1900-01-01
公开(公告)号:
US20070010812A1
申请日:
2004-06-10
公开(公告)日:
2007-01-11
当前申请(专利权)人:
MICROSURGICAL TECHNOLOGY, INC.
发明人:
MITTELSTEIN, MICHAEL | SORENSEN, JOHN T. | MIRHASHEMI, SOHEILA | GERG, JAMES B.
简单同族:
CA2528056A1 | CA2528056C | EP1633267A2 | EP1633267A4 | EP1633267B1 | ES2544478T3 | JP2007500582A | JP2007500582A5 | JP4704344B2 | MXPA05013311A | US20070010812A1 | US7842034 | WO2004110259A2 | WO2004110259A3
简单同族成员数量:
14
简单同族被引用专利总数:
50
诉讼案件数:
0
法律状态/事件:
授权 | 权利转移