标题:
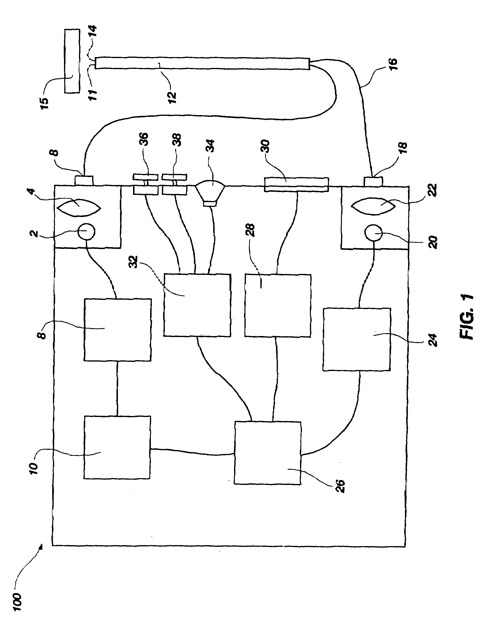
Devices and methods for fluorescent inspection and/or removal of material in a sample
授权日:
1900-01-01
公开(公告)号:
US20070269837A1
申请日:
2006-05-17
公开(公告)日:
2007-11-22
当前申请(专利权)人:
UTAH, UNIVERSITY OF
发明人:
MCGREEVY, JAMES | GRISSOM, CHARLES B. | JONES, RONALD M.
简单同族:
AU2007253771A1 | AU2007253771B2 | CA2652382A1 | EP2021802A2 | EP2021802A4 | JP2009537827A | US20070269837A1 | US20120179030A1 | US8140141 | WO2007137124A2 | WO2007137124A3
简单同族成员数量:
11
简单同族被引用专利总数:
54
诉讼案件数:
0
法律状态/事件:
未缴年费 | 权利转移