首页
专利数据库
产业人才
行业动态
产业政策法规
维权援助
个人中心
登录/注册
详情
文本
图像
标题:
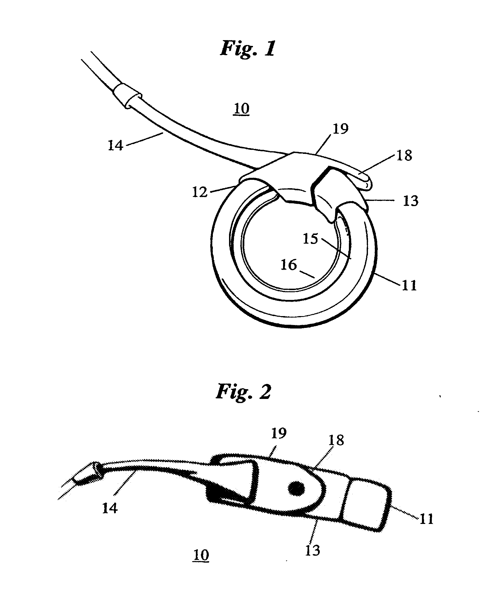
Remotely adjustable gastric banding device
授权日:
1900-01-01
公开(公告)号:
US20090182356A1
申请日:
2008-03-03
公开(公告)日:
2009-07-16
当前申请(专利权)人:
COE FREDERICK L
发明人:
COE, FREDERICK L.
简单同族:
US20050250979A1 | US20090182356A1 | US20120215062A1 | US7338433 | US8845513
简单同族成员数量:
5
简单同族被引用专利总数:
242
诉讼案件数:
0
法律状态/事件:
撤回