首页
专利数据库
产业人才
行业动态
产业政策法规
维权援助
个人中心
登录/注册
详情
文本
图像
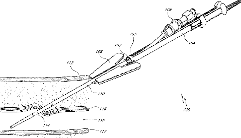
标题:
Guided Tissue Cutting Device, Method of Use and Kits Therefor
授权日:
1900-01-01
公开(公告)号:
US20090143808A1
申请日:
2008-12-03
公开(公告)日:
2009-06-04
当前申请(专利权)人:
CARDIOVASCULAR TECHNOLOGIES, INC.
发明人:
HOUSER, RUSSELL A.
简单同族:
US20090143808A1
简单同族成员数量:
1
简单同族被引用专利总数:
67
诉讼案件数:
0
法律状态/事件:
撤回 | 权利转移