标题:
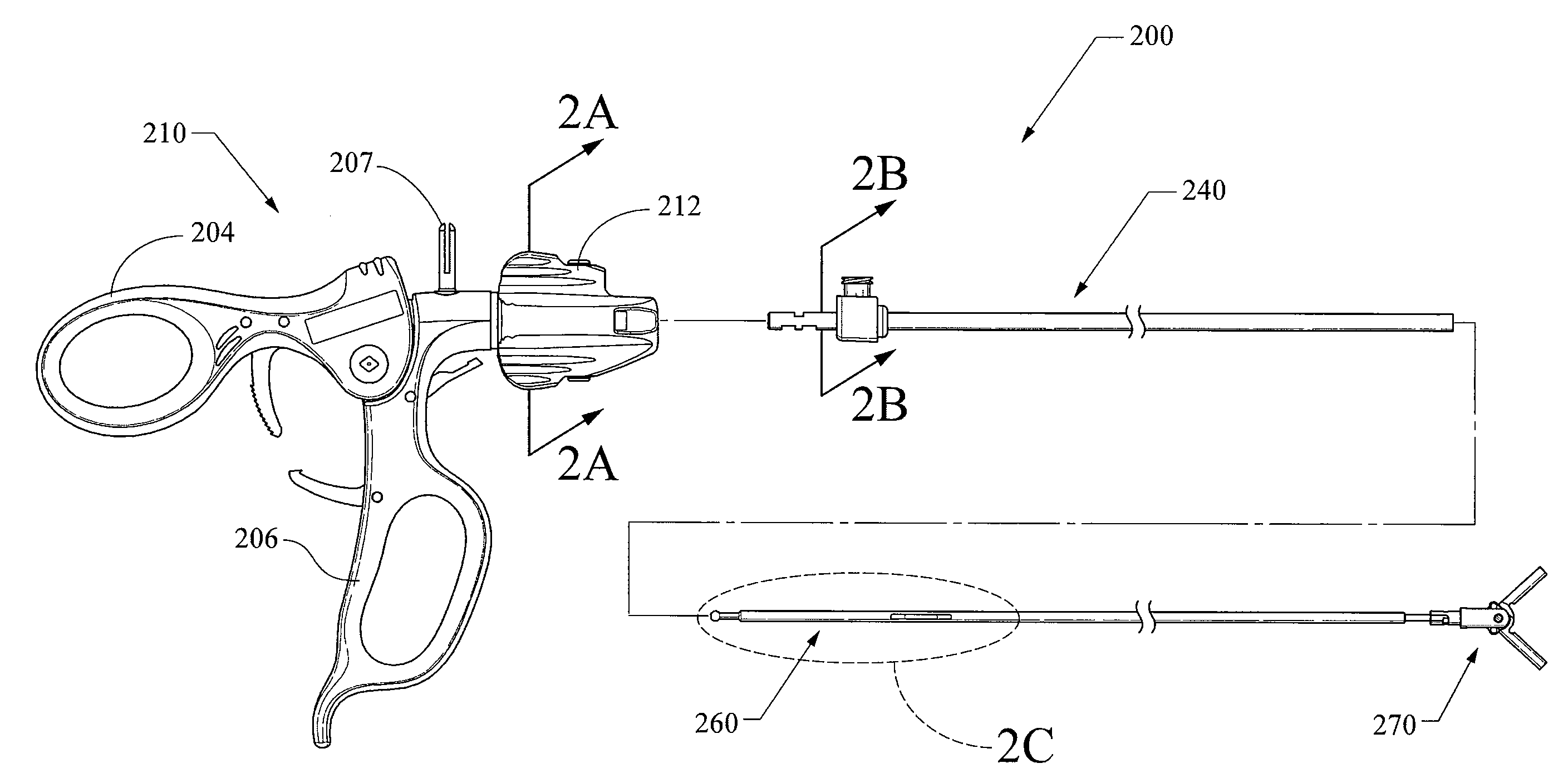
Surgical device with reusable handle
授权日:
1900-01-01
公开(公告)号:
US20110306952A1
申请日:
2010-06-10
公开(公告)日:
2011-12-15
当前申请(专利权)人:
CAREFUSION 2200, INC.
发明人:
CHEN, HOW-LUN | CRUMLEY, JESSE | LEONARD, ROBERT F.
简单同族:
AU2011264541A1 | AU2011264541B2 | BR112012031391A2 | CA2802066A1 | CA2802066C | CN102939053A | CN102939053B | EP2579790A1 | EP2579790B1 | KR101779635B1 | KR1020130127906A | MX2012014360A | MX344201B | RU2013100173A | RU2557912C2 | US20110306952A1 | US8956341 | WO2011156168A1
简单同族成员数量:
18
简单同族被引用专利总数:
54
诉讼案件数:
0
法律状态/事件:
授权 | 权利转移