首页
专利数据库
产业人才
行业动态
产业政策法规
维权援助
个人中心
登录/注册
详情
文本
图像
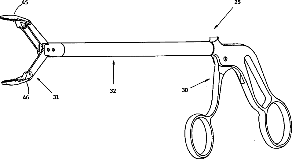
标题:
Laparoscopic instrument with parallel actuated jaws
授权日:
2001-05-29
公开(公告)号:
US6238414
申请日:
2000-01-20
公开(公告)日:
2001-05-29
当前申请(专利权)人:
SPECIALTY SURGICAL INSTRUMENTATION INC.
发明人:
GRIFFITHS, JERRY R.
简单同族:
US6238414
简单同族成员数量:
1
简单同族被引用专利总数:
144
诉讼案件数:
0
法律状态/事件:
期限届满 | 质押 | 许可 | 权利转移