首页
专利数据库
产业人才
行业动态
产业政策法规
维权援助
个人中心
登录/注册
详情
文本
图像
标题:
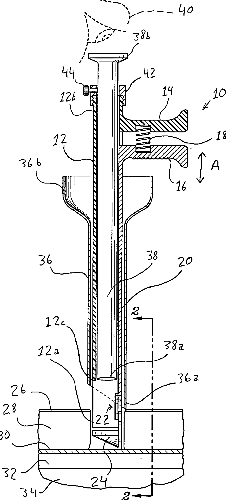
Direct vision port site dissector
授权日:
1900-01-01
公开(公告)号:
US20040093000A1
申请日:
2002-10-23
公开(公告)日:
2004-05-13
当前申请(专利权)人:
INTELLIMED SURGICAL SOLUTIONS, LLC
发明人:
KERR, STEPHEN
简单同族:
US20040093000A1 | US20070049963A1 | WO2004037097A1
简单同族成员数量:
3
简单同族被引用专利总数:
87
诉讼案件数:
0
法律状态/事件:
撤回 | 权利转移