首页
专利数据库
产业人才
行业动态
产业政策法规
维权援助
个人中心
登录/注册
详情
文本
图像
标题:
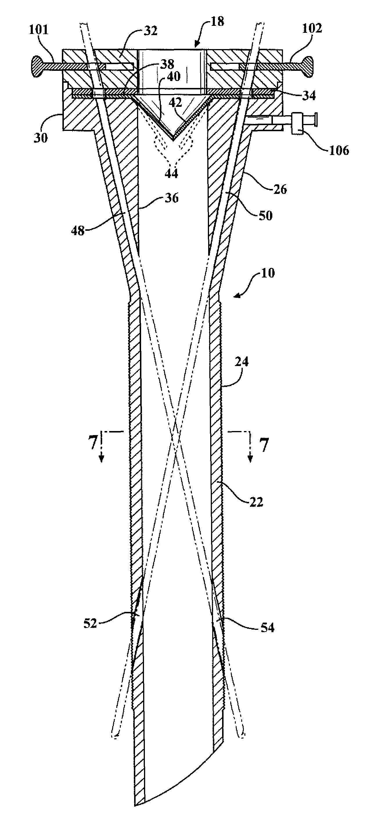
Laparoscopic cannula with suturing capability
授权日:
2015-05-19
公开(公告)号:
US9033872
申请日:
2012-02-06
公开(公告)日:
2015-05-19
当前申请(专利权)人:
MOHAJER-SHOJAEE, REZA
发明人:
MOHAJER-SHOJAEE, REZA
简单同族:
US20140163323A1 | US20150238184A1 | US9033872 | US9636104 | WO2013105993A2 | WO2013105993A3
简单同族成员数量:
6
简单同族被引用专利总数:
58
诉讼案件数:
0
法律状态/事件:
授权