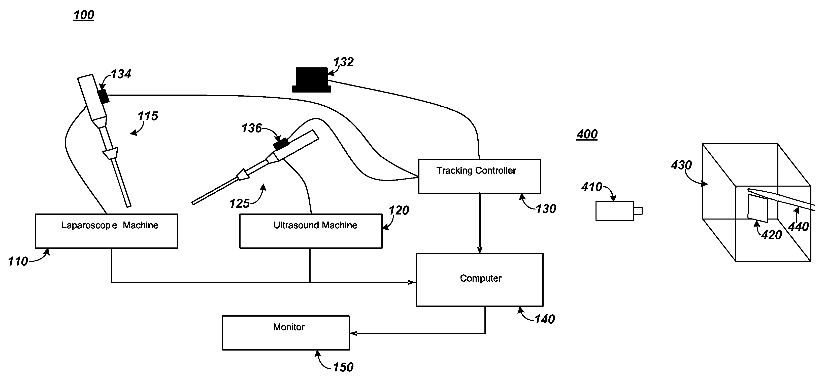
标题:
System and method for overlaying ultrasound imagery on a laparoscopic camera display
授权日:
2012-09-18
公开(公告)号:
US8267853
申请日:
2008-06-23
公开(公告)日:
2012-09-18
当前申请(专利权)人:
SOUTHWEST RESEARCH INSTITUTE
发明人:
FISHER, JAMES BRIAN | BOWERS, STEVEN P. | VAN SICKLE, KENT R. | COUVILLION, JR., WARREN CARL | WRIGHT, ROBERT D. | CANNON, JEREMY W.
简单同族:
US20090318756A1 | US8267853
简单同族成员数量:
2
简单同族被引用专利总数:
43
诉讼案件数:
0
法律状态/事件:
授权 | 权利转移