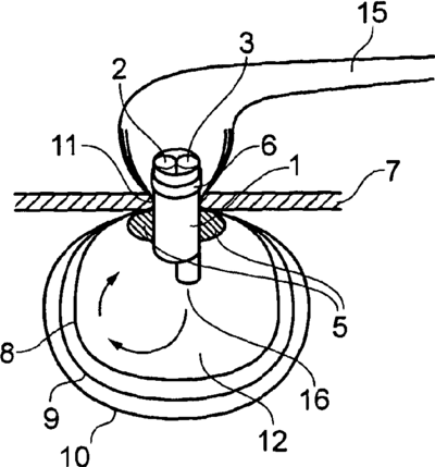
标题:
Medical device: laparoscopic bag
授权日:
2017-05-23
公开(公告)号:
US9655644
申请日:
2011-03-07
公开(公告)日:
2017-05-23
当前申请(专利权)人:
ASHFORD & ST. PETER'S HOSPITALS
发明人:
COLLINS, JUSTIN
简单同族:
AU2011225880A1 | AU2011225880B2 | CA2790104A1 | CA2790104C | EP2544596A2 | EP2544596B1 | ES2587990T3 | GB201003817D0 | US20140135788A1 | US9655644 | WO2011110836A2 | WO2011110836A3
简单同族成员数量:
12
简单同族被引用专利总数:
36
诉讼案件数:
0
法律状态/事件:
授权