首页
专利数据库
产业人才
行业动态
产业政策法规
维权援助
个人中心
登录/注册
详情
文本
图像
标题:
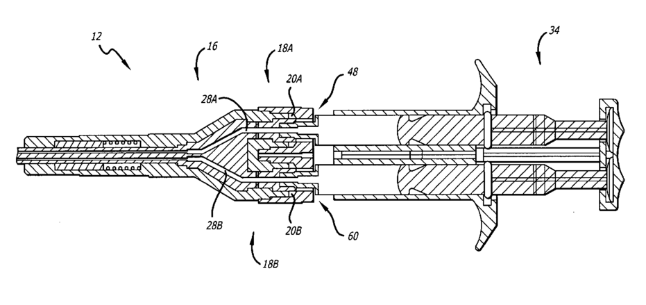
Laparoscopic spray device and method of use
授权日:
1900-01-01
公开(公告)号:
US20050096588A1
申请日:
2003-10-31
公开(公告)日:
2005-05-05
当前申请(专利权)人:
BAXTER INTERNATIONAL INC. | BAXTER HEALTHCARE SA
发明人:
HAGMANN, ADAM | SPERO, RICHARD | YARDIMCI, ATIF M.
简单同族:
US20050096588A1 | US6884232
简单同族成员数量:
2
简单同族被引用专利总数:
132
诉讼案件数:
0
法律状态/事件:
未缴年费 | 权利转移