首页
专利数据库
产业人才
行业动态
产业政策法规
维权援助
个人中心
登录/注册
详情
文本
图像
标题:
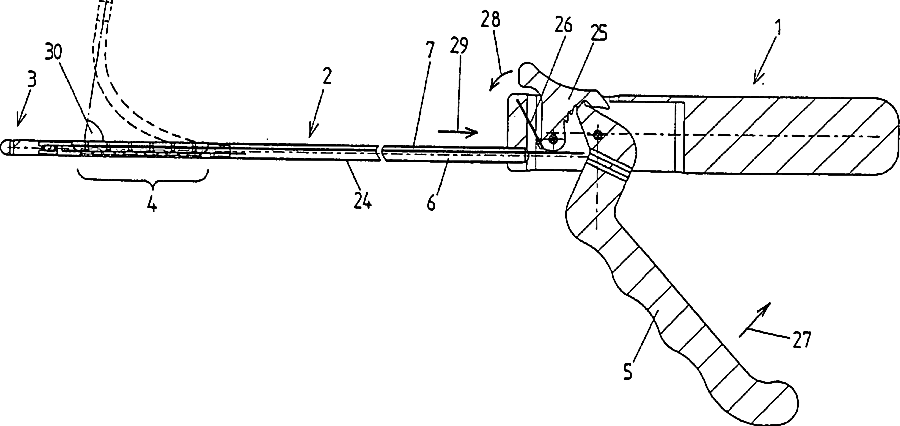
Laparoscopic instrument
授权日:
1900-01-01
公开(公告)号:
US20050222601A1
申请日:
2005-04-05
公开(公告)日:
2005-10-06
当前申请(专利权)人:
AMI AGENCY FOR MEDICAL INNOVATIONS GMBH
发明人:
ERHARD, MARTIN
简单同族:
AT413940B | ATA6022004A | EP1584293A1 | US20050222601A1
简单同族成员数量:
4
简单同族被引用专利总数:
44
诉讼案件数:
0
法律状态/事件:
撤回 | 权利转移