首页
专利数据库
产业人才
行业动态
产业政策法规
维权援助
个人中心
登录/注册
详情
文本
图像
标题:
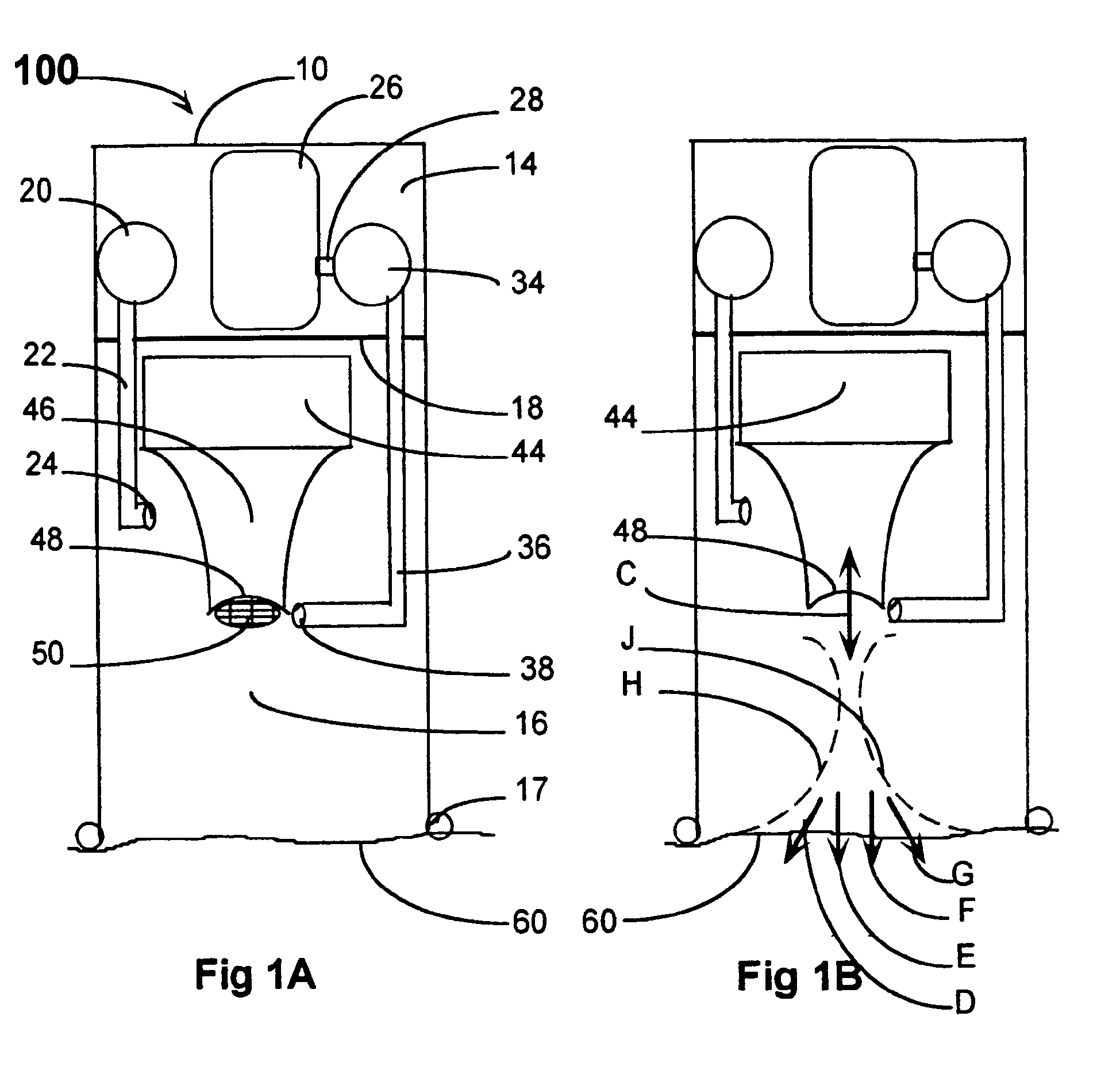
Apparatus for the delivery of substances to biological components
授权日:
2010-08-04
公开(公告)号:
EP1389064B1
申请日:
2002-01-22
公开(公告)日:
2010-08-04
当前申请(专利权)人:
IGER, YONI
发明人:
IGER, YONI
简单同族:
AT476143T | AU2002225320A1 | DE60237201D1 | EP1389064A2 | EP1389064A4 | EP1389064B1 | IL141123D0 | US20050075620A1 | WO2002058530A2 | WO2002058530A3
简单同族成员数量:
10
简单同族被引用专利总数:
36
诉讼案件数:
0
法律状态/事件:
权利终止