标题:
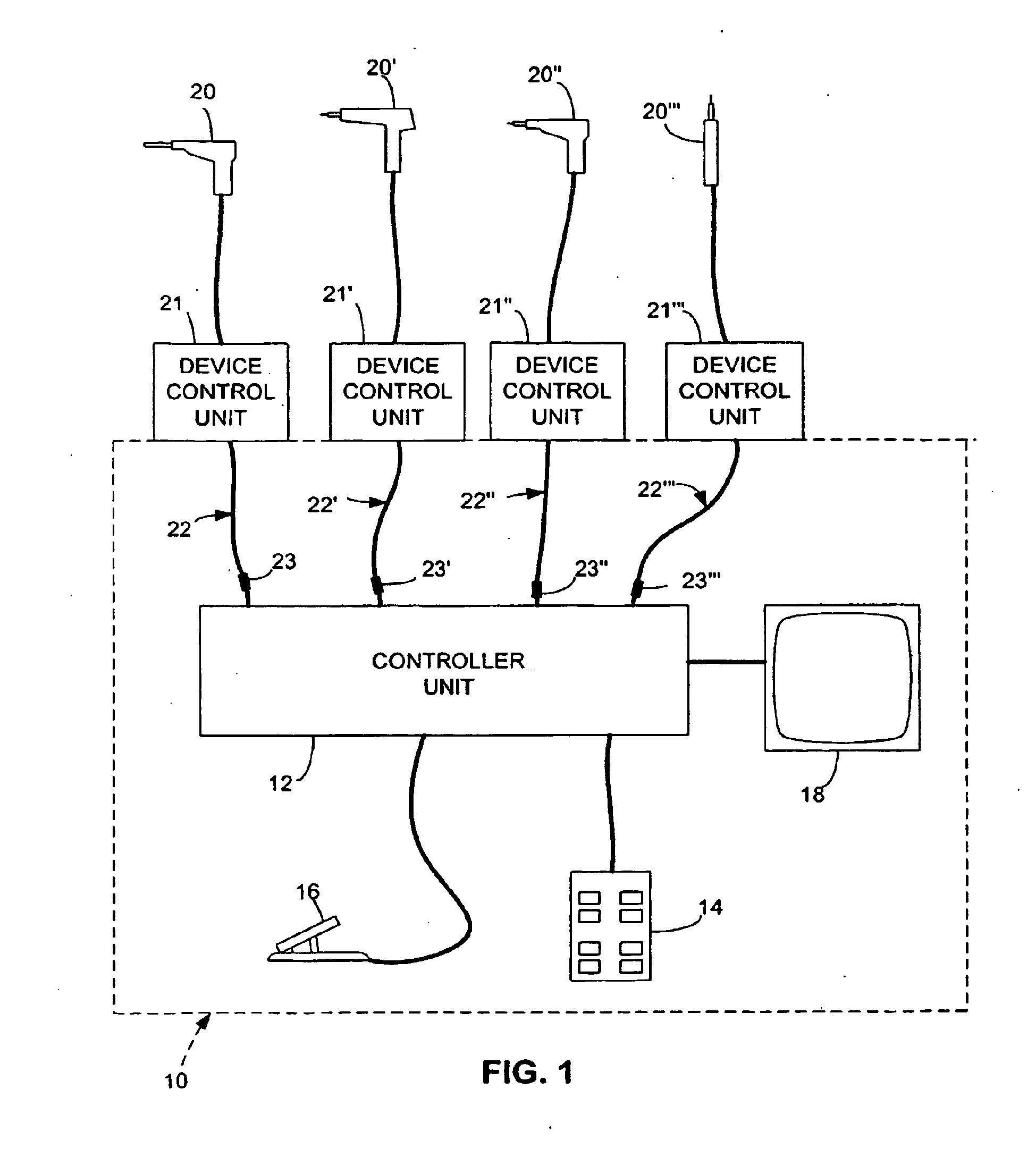
Electrosurgical control system
授权日:
2014-08-27
公开(公告)号:
EP1677694B1
申请日:
2004-10-28
公开(公告)日:
2014-08-27
当前申请(专利权)人:
STRYKER CORPORATION
发明人:
EL-GALLEY, RIZK | ALEXANDER, DAVID, AUSTIN | HAWN, MARY
简单同族:
AU2004285224A1 | CA2543613A1 | EP1677694A2 | EP1677694A4 | EP1677694B1 | JP2007509717A | US20050143724A1 | US20070185480A1 | US7217269 | US8870861 | WO2005043324A2 | WO2005043324A3
简单同族成员数量:
12
简单同族被引用专利总数:
380
诉讼案件数:
0
法律状态/事件:
权利终止 | 权利转移