标题:
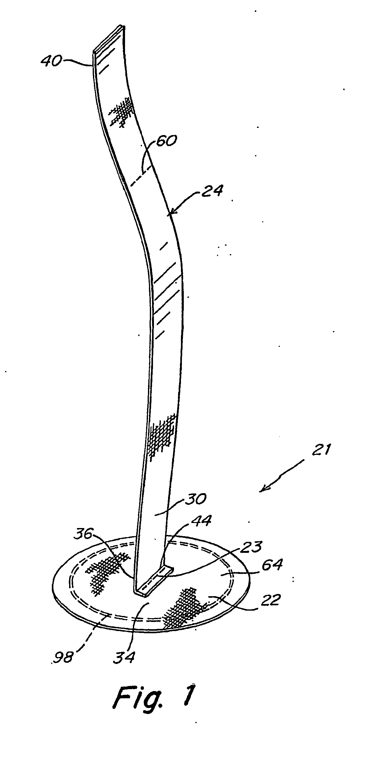
Implantable prosthesis
授权日:
2012-02-01
公开(公告)号:
EP1524951B1
申请日:
2003-05-01
公开(公告)日:
2012-02-01
当前申请(专利权)人:
C.R.BARD, INC.
发明人:
FORD, STEVEN, PALMER | TORRES, DONNA, SCHULZ
简单同族:
AT543458T | CA2494111A1 | CA2494111C | CA2728809A1 | CA2728809C | DK1524951T3 | DK2298232T3 | DK2298233T3 | DK2298234T3 | EP1524951A1 | EP1524951B1 | EP2298232A2 | EP2298232A3 | EP2298232B1 | EP2298233A2 | EP2298233A3 | EP2298233B1 | EP2298234A2 | EP2298234A3 | EP2298234B1 | EP3135245A1 | EP3135245B1 | ES2381354T3 | ES2609422T3 | ES2616343T3 | ES2666232T3 | JP2005534404A | JP2005534404A5 | JP2010042269A | JP2010046499A | JP2012096050A | JP4425136B2 | JP5049326B2 | PT2298232T | PT2298233T | PT2298234T | US20040087980A1 | US20060282105A1 | US20090198260A1 | US20100286716A1 | US7101381 | US7785334 | US7806905 | US8956373 | WO2004012627A1
简单同族成员数量:
45
简单同族被引用专利总数:
382
诉讼案件数:
0
法律状态/事件:
授权 | 异议