标题:
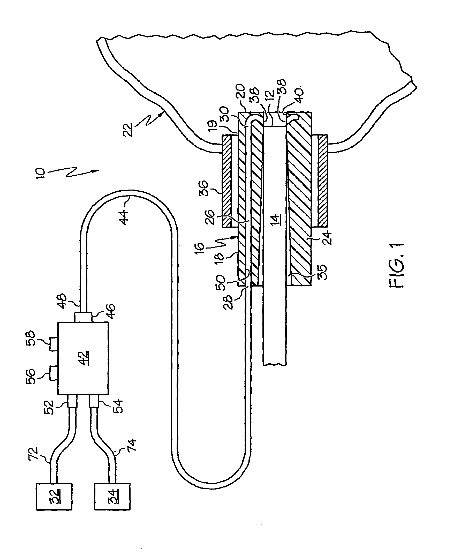
Apparatus for cleaning a distal scope end of a medical viewing scope
授权日:
1900-01-01
公开(公告)号:
EP1911392A2
申请日:
2007-10-02
公开(公告)日:
2008-04-16
当前申请(专利权)人:
ETHICON ENDO-SURGERY, INC.
发明人:
WEISENBURGH II, WILLIAM B. | GILL, ROBERT P. | HESS, CHRISTOPHER J. | CUMMINGS, JOHN F.
简单同族:
AU2007219275A1 | CA2605261A1 | CN101156768A | EP1911392A2 | EP1911392A3 | US20080081948A1
简单同族成员数量:
6
简单同族被引用专利总数:
80
诉讼案件数:
0
法律状态/事件:
撤回