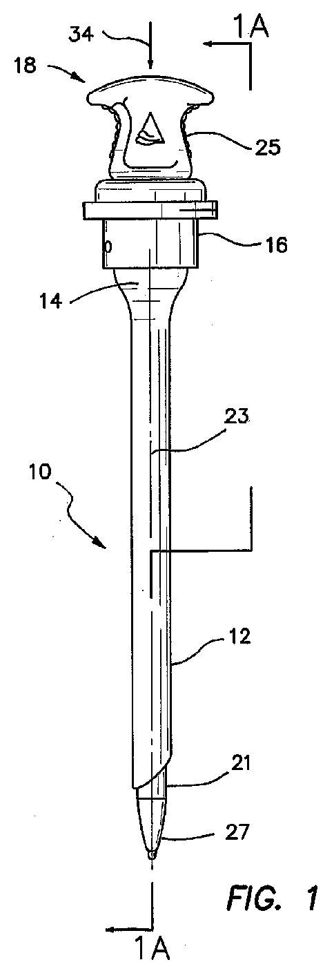
标题:
Cone tip obturator
授权日:
1900-01-01
公开(公告)号:
EP2316361A1
申请日:
2003-05-13
公开(公告)日:
2011-05-04
当前申请(专利权)人:
APPLIED MEDICAL RESOURCES CORPORATION
发明人:
TAYLOR, SCOTT | WIXEY, MATTHEW A
简单同族:
CA2485481A1 | DE60337002D1 | EP1503677A2 | EP1503677A4 | EP1503677B1 | EP2316361A1 | EP2316361B1 | JP2005525860A | US10368906 | US20050251191A1 | US20100298776A1 | US20120165852A1 | US20120316596A1 | US20140121695A1 | US20160345948A9 | US20170164976A1 | US20190350618A1 | US7758603 | US8152828 | US8377090 | US8608768 | US9545248 | WO2003096879A2 | WO2003096879A3
简单同族成员数量:
24
简单同族被引用专利总数:
99
诉讼案件数:
0
法律状态/事件:
授权 | 权利转移