首页
专利数据库
产业人才
行业动态
产业政策法规
维权援助
个人中心
登录/注册
详情
文本
图像
标题:
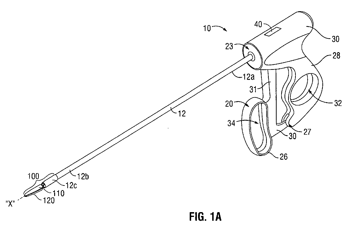
Endoscopic apparatus for manipulating tissue
授权日:
1900-01-01
公开(公告)号:
EP2238919A3
申请日:
2010-03-23
公开(公告)日:
2011-03-02
当前申请(专利权)人:
COVIDIEN LP
发明人:
WINGARDNER, THOMAS | FOWLER, DAVID
简单同族:
AU2010201087A1 | CA2697175A1 | EP2238919A2 | EP2238919A3 | US20100249498A1
简单同族成员数量:
5
简单同族被引用专利总数:
41
诉讼案件数:
0
法律状态/事件:
撤回 | 权利转移